Curiosii for ever!: Car repair manuals for everyone.

Repair and Diagnosis: Description and Operation

Fasteners Information

Metric Fasteners
Most of the fasteners used for this vehicle are JIS-defined and ISO-defined metric fasteners. When replacing any fasteners, it is most important that replacement fasteners be the correct diameter, thread pitch and strength.

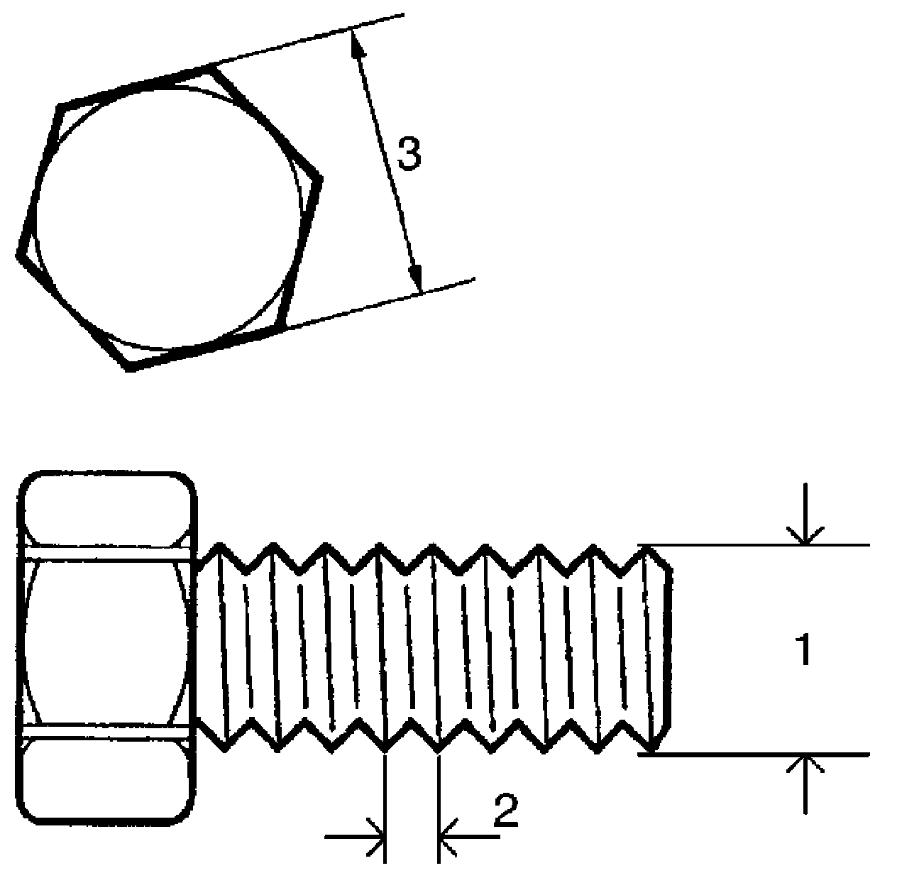
CAUTION: Even when the nominal diameter (1) of thread is the same, the thread pitch (2) or the width across flats (3) may vary between ISO and JIS. Refer to JIS-TO-ISO Main Fasteners Comparison Table below for the difference.
Installing a mismatched bolt or nut will cause damage to the thread.
Before installing, check the thread pitch for correct matching and then tighten it by hand temporarily. If it is tight, recheck the thread pitch.











Fastener Strength Identification
Most commonly used metric fastener strength property classes are 4T, 6.8, 7T, 8.8 and radial line with the class identification embossed on the head of each bolt. Some metric nuts will be marked with punch, 6 or 8 mark strength identification on the nut face. Figure shows the different strength markings.
When replacing metric fasteners, be careful to use bolts and nuts of the same strength or greater than the original fasteners (the same number marking or higher). It is likewise important to select replacement fasteners of the correct diameter and thread pitch. Correct replacement bolts and nuts are available through the parts division.
Metric bolts: Identification class numbers or marks correspond to bolt strength (increasing numbers represent increasing strength).







Standard Tightening Torque
Each fastener should be tightened to the torque specified. If no description or specification is provided, refer to the following tightening torque chart for the applicable torque for each fastener. When a fastener of greater strength than the original one is used, however, use the torque specified for the original fastener.

NOTE:
- For the flanged bolt, flanged nut and self-lock nut of 4T and 7T strength, add 10% to the tightening torque given in the following chart.
- The following chart is applicable only where the fastened parts are made of steel light alloy.