Curiosii for ever!: Car repair manuals for everyone.

Manual Transaxle Assembly Disassembly and Reassembly

Manual Transaxle Assembly Disassembly and Reassembly
Reference: Manual Transaxle Unit Dismounting and Remounting
Reference: Manual Transaxle Assembly Components
Reference: Gear Shift and Select Shaft Assembly Removal and Installation

Disassembly
1) Remove back up light switch.
2) Remove transaxle case bolts.
3) Remove transaxle left side case (1) from right case using special tool.

Special Tool
(A): 09912-34510





4) Remove reverse gear shift lever bolts (1) and reverse gear shift lever (2).





5) Tapping input shaft end with plastic hammer, push it out as assembly from case a little, and then remove input shaft assembly (1), countershaft assembly (2), high speed gear shift shaft (3), low speed gear shift shaft (4), 5th and 6th gear shift shaft (5), reverse gear shift (6) and reverse gears (7).





6) Remove differential assembly from right case.

Reassembly
Reference: Right Case Disassembly and Reassembly
Reference: Left Case Disassembly and Reassembly
Reference: Input Shaft Disassembly and Reassembly
Reference: Countershaft Disassembly and Reassembly
Reference: Differential Disassembly and Reassembly
Reference: Gear Shift Shaft and Fork Inspection

1) Install differential assembly into right case.
2) Join input shaft assembly (5), countershaft assembly (4), low speed gear shift shaft (2), high speed gear shift shaft (3), 5th and 6th gear shift shaft (6), reverse gear shift shaft (7) and reverse gears (8) all together, then install them into right case (1) so as not to damage oil seal by input shaft spline.

NOTE:
^ Input shaft right bearing on shaft can be installed into right case (1) by tapping shaft with plastic hammer.
^ Make sure that countershaft is engaged with final gear while installing.





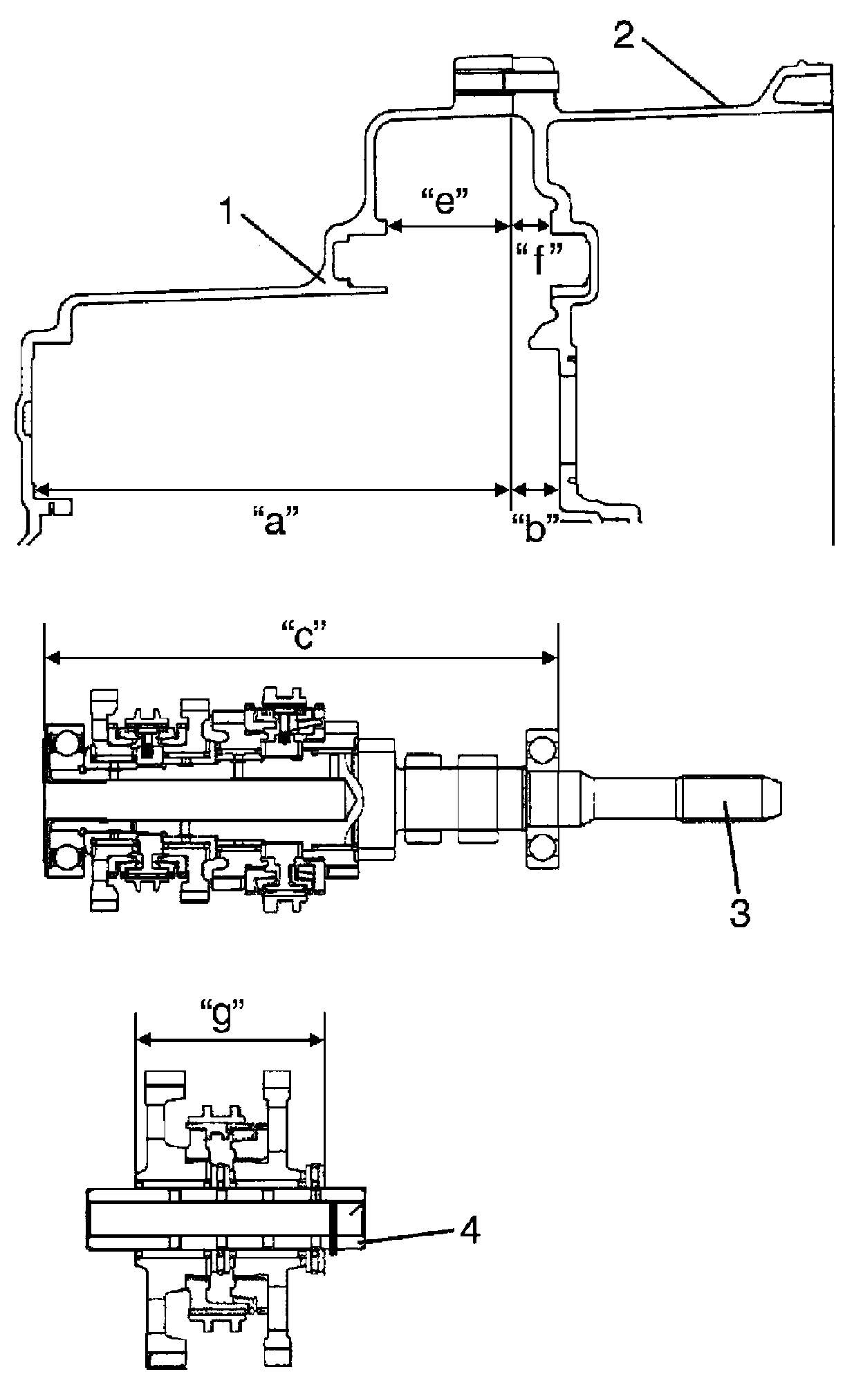
3) Select input shaft shim and reverse gear shim as follows.
a) Measure depth "a" of left case (1) and "b" of right case (2) and measure depth "e" of left case and "f" of right case.
b) Measure distance "c" of input shaft assembly (3) and measure distance "g" of reverse gear assembly (4).
c) Calculate the clearance of "d" and "h" by the following formulas.
Clearance "d" = Depth "a" + Depth "b" - Distance "c"
Clearance "h" = Depth "e" + Depth "f" - Distance "g"











d) Select shims closest to clearance "d" and "h" from among the following available sizes.

Available shim thickness








Available shim thickness





4) Install input shaft shim (1) and reverse gear shim (2).





5) Install reverse gear shift lever (1) and then tighten new reverse gear shift lever bolts (2) to specified torque.

CAUTION:
Be sure to use new reverse gear shift lever bolts precoated with adhesive.


Tightening torque
Reverse gear shift lever bolt (a): 23 Nm (2.3 kg-m, 17.0 lbf-ft)





6) Clean mating surfaces of both right and left cases, apply sealant to right case (1) as shown in figure. Diameter of applied sealant is 1.5 mm (0.059 in.).

"A": Sealant 99000-31260 (SUZUKI Bond No.1217G)

7) Mate it with left case (2).
8) Tighten case bolts (3) to specified torque.

Tightening torque
Transaxle case bolt (a): 23 Nm (2.3 kg-m, 17.0 lbf-ft)





9) Install back up light switch.