Curiosii for ever!: Car repair manuals for everyone.

Inspection of 4WD Control Module and Its Circuits

Inspection of 4WD Control Module and Its Circuits
4WD control module and its circuits can be checked by measuring voltage and pulse signal at connector connected to 4WD control module.

CAUTION:
4WD control module cannot be checked by itself. It is strictly prohibited to connect voltmeter or ohmmeter to 4WD control module with connectors disconnected from it.


Voltage and Signal Check
1) Connect 4WD control module connector to 4WD control module.
2) Check voltage and/or pulse signal at each terminal of connectors using voltmeter (1) and oscilloscope (2).








NOTE:
^ As each terminal voltage is affected by battery voltage, confirm that it is 11 V or more when ignition mode of keyless push start system is in "ON".
^ Voltage with asterisk (*) cannot be measured with voltmeter because it is pulse signal. Use oscilloscope for its check if necessary.
^ For "Ignition mode" described in the following table, it means power supply mode in keyless push start system.
For more details of ignition mode, refer to Description of Keyless Engine Start Function.





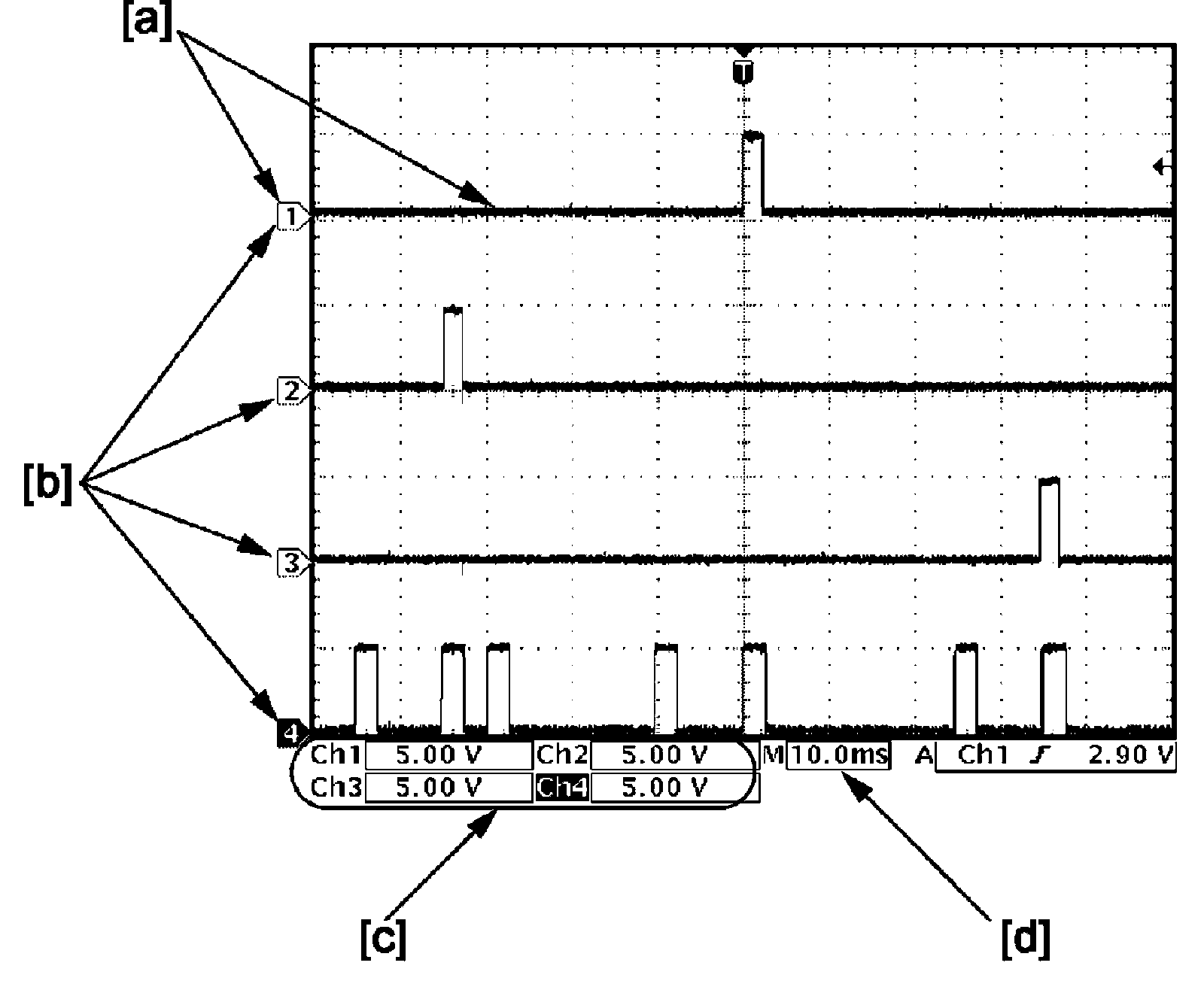
Reference Waveform

Oscilloscope display
Shown below is typical waveform display provided by oscilloscope.

NOTE:
^ Display includes the following types of data:








^ Waveforms may vary with measurement conditions and vehicle specifications.

CAN communication signal

CAN (high) communication circuit signal (1):





CAN (low) communication circuit signal (2):





Measurement condition
^ Engine: Stop
^ Ignition: ON