Curiosii for ever!: Car repair manuals for everyone.

Generator Disassembly and Reassembly

Generator Disassembly And Reassembly

Disassembly
1. For easier reassembly, draw matchmark (1) on drive end frame and stator assembly as shown in figure.






2. Loosen rear end cover nuts (1) and remove rear end cover (2) from stator assembly.
3. Remove terminal bushing (3).






4. Loosen brush holder screws (1) and remove brush holder assembly (3) from stator assembly (2).
5. Loosen stator assembly bolts (4).







6. Remove rotor assembly (2) from stator assembly (1) and remove wave washer (3).






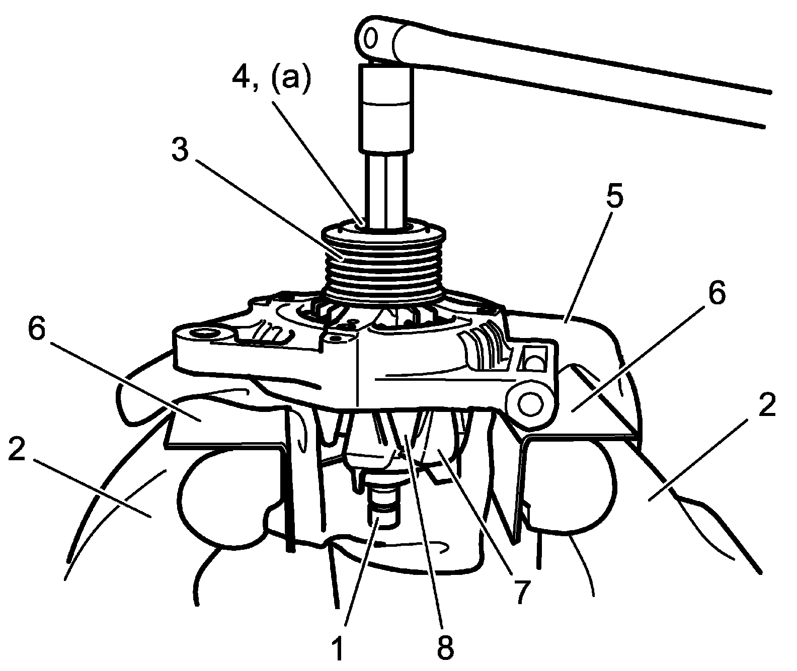
7. Hold rotor (1) by using vise (2), loosen pulley nut (3) and remove pulley (4).

CAUTION:
- When using vise, put clean cloth (5) and aluminium plate (6) between rotor and vise so as not to cause damage to rotor.
- Be sure to hold the location (7). Do not hold the location (8) as it does not have enough structural strength.







8. Remove rotor (2) from drive end frame (1).







9. Loosen bearing retainer screws (1) and remove bearing retainer (3) from drive end frame (2).






10. Push out drive end bearing by using special tool and hydraulic press (1).

Special Tool
(A): 09913-75821






Reassembly
1. Press-fit drive end bearing by using special tool and hydraulic press (1).

Special Tool
(A): 09913-76010






2. Install bearing retainer (1) to drive end frame (2) and tighten bearing retainer screws (3) to specified torque.

Tightening torque
Bearing retainer screw (a): 2.3 N.m (0.23 kg-m, 2.0 lbf-ft)






3. Install rotor (1) to drive end frame (2)






4. Hold rotor (1) by using vise (2), install pulley (3) and tighten pulley nut (4) to specified torque.

CAUTION:
- When using vise, put clean cloth (5) and aluminium plate (6) between rotor and vise so as not to cause damage to rotor.
- Be sure to hold the location (7). Do not hold the location (8) as it does not have enough structural strength.


Tightening Torque
Pulley nut (a): 110 N.m (11.2 kg-m, 81.5 lbf-ft)






5. Install wave washer (1) and stator assembly (3) to rotor assembly (2) in alignment with matchmark drawn before disassembly.






6. Tighten stator assembly bolts (1) to specified torque.

Tightening torque
Stator assembly bolt (a): 6.0 N.m (0.61 kg-m, 4.5 lbf-ft)






7. Install brush holder assembly to stator assembly as follows.
a. Depress brush (1) and install pin (2) while brush is depressed.






b. Install brush holder assembly (1) to stator assembly (2) and tighten brush holder screws (3) to specified torque.

Tightening torque
Brush holder screw (b): 2.0 N.m (0.20 kg-m, 1.5 lbf-ft)






c. Remove pin from brush holder assembly.

8. Install rear end cover (1) to stator assembly and tighten rear end cover nuts (2) to specified torque.

Tightening torque
Rear end cover nut (a): 4.5 N.m (0.46 kg-m, 3.5 lbf-ft)

9. Install terminal bushing (3).






10. Check that rotor turns smoothly.