Curiosii for ever!: Car repair manuals for everyone.

Front Brake Disc Inspection

Front Brake Disc Inspection
Reference: Front Brake Disc Removal and Installation
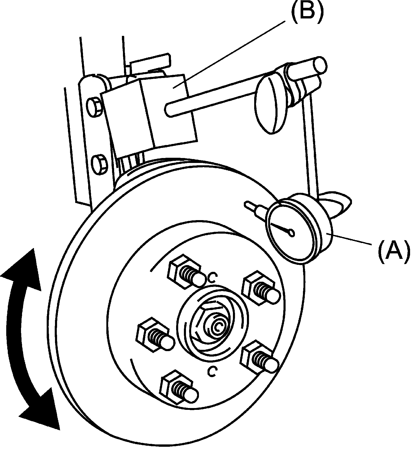
^ Measure deflection of front brake disc at the point 10 mm inside from its edge using special tools and repair or replace the disc if defective.

Front brake disc deflection
Limit: 0.10 mm (0.004 in.)

Special Tool
(A): 09900-20607
(B): 09900-20701





^ Measure thickness of front brake disc with micrometer. If thickness is less than limit, replace the disc.

Front brake disc thickness "a"
Standard: 26.0 mm (1.02 in.)
Limit: 24.0 mm (0.94 in.)