Curiosii for ever!: Car repair manuals for everyone.

Transfer Oil Change

Transfer Oil Change
1. Before changing oil, be sure to stop engine and lift vehicle horizontally.
2. Check leakage.
If leakage exists, correct it.

NOTE: Whenever vehicle is hoisted for any other service work than oil change, also be sure to check for oil leakage.

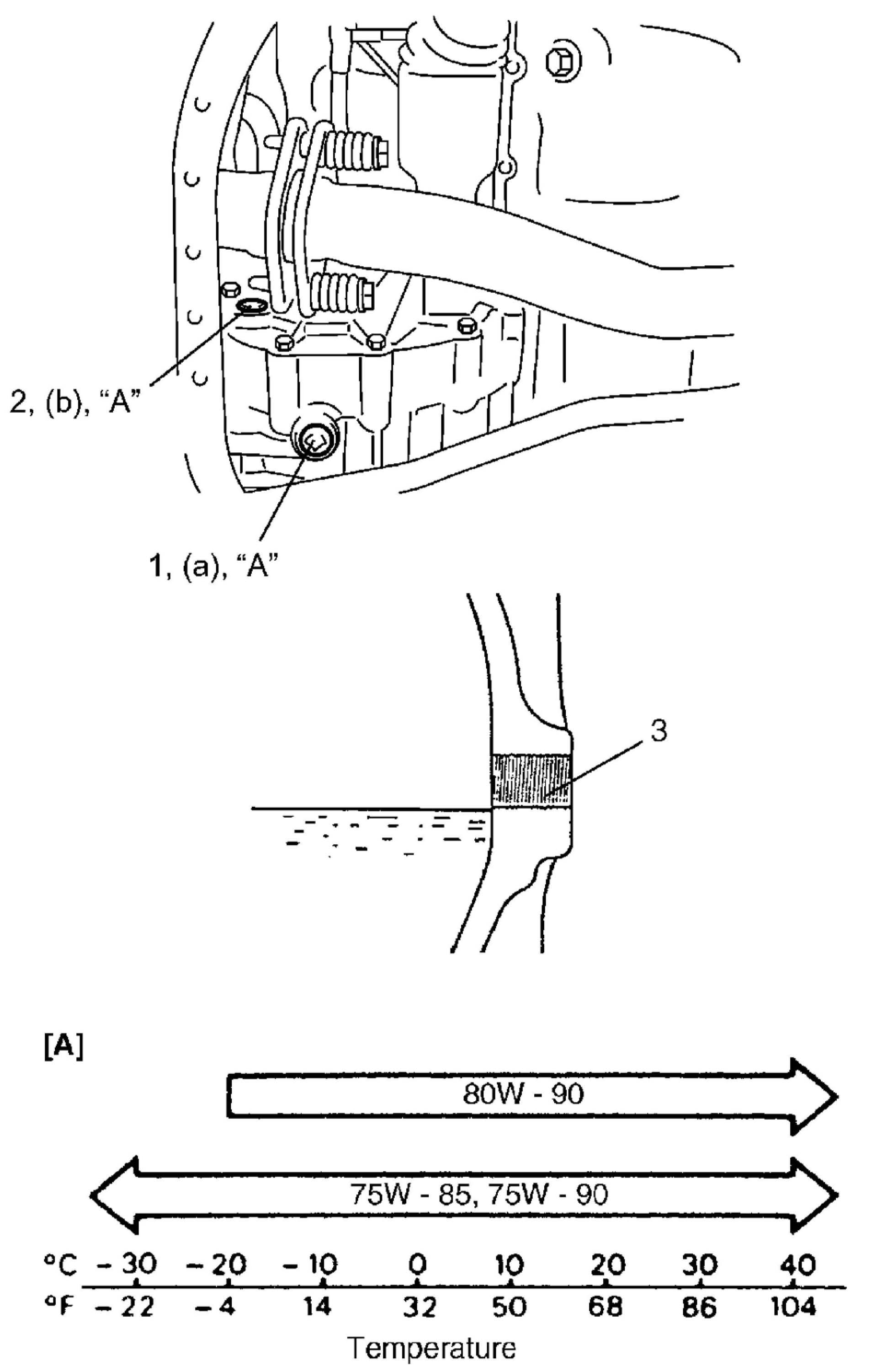
3. Remove oil filler plug (2).
4. Remove drain plug (1), and drain oil.
5. Apply sealant to thread of drain plug (1), and tighten it to specified torque.
"A": Sealant 99000-31260SUZUKI Bond No.1217G
Tightening torque
Transfer oil drain plug a: 23 Nm (2.3 kgf-m, 17.0 ft. lbs.)
6. Pour new specified oil up to lower end of oil level / filler plug hole (3).

NOTE: It is highly recommended to use API GL-5 BOW-90 gear oil.

Transfer oil specification: API GL-5 (For SAE classification, refer to viscosity chart [A] in figure.)
Transfer oil capacity (Reference): 0.6 liters (1.2/1.0 US/Imp.pt)
7. Apply sealant to thread of level / filler plug, and then tighten it to specified torque.
"A": Sealant 99000-31260SUZUKI Bond No.1217G
Tightening torque
Transfer oil level / filler plug b: 23 Nm (2.3 kgf-m, 17.0 ft. lbs.)