Curiosii for ever!: Car repair manuals for everyone.

Compressor Clutch: Service and Repair

Magnet Clutch Removal and Installation

Removal
1. Remove compressor from vehicle referring to Compressor Assembly Removal and Installation:Manual Type.
2. Fix armature plate (1) with special tool and remove armature plate bolt (2).

Special Tool
(A): 09991-06310




3. Remove armature plate (1).
4. Remove shims from shaft.




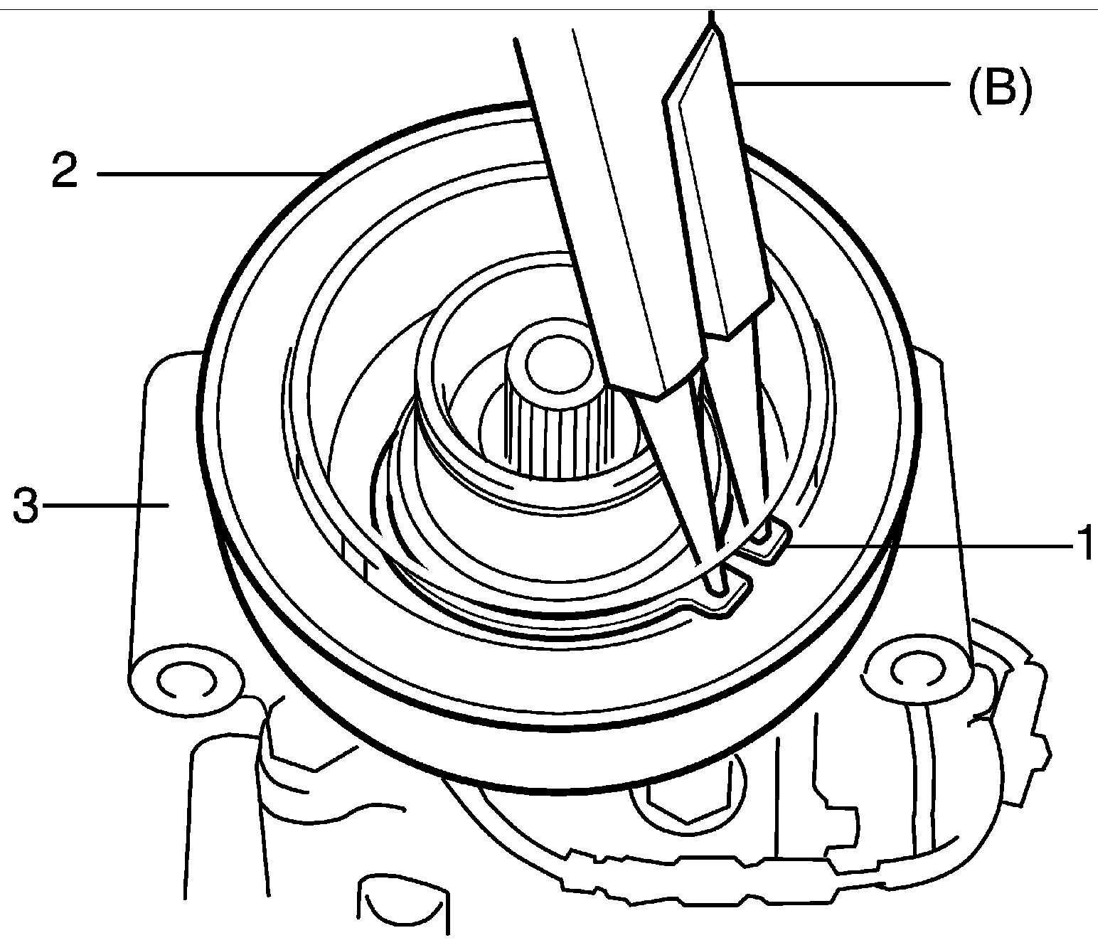
5. Remove circlip (1) using special tool.

Special Tool
(B): 09900-06107




6. Remove magnet clutch pulley (2).

NOTE:
^ If it is difficult to remove magnet clutch pulley by hand, use puller (1).
^ Do not damage magnet clutch pulley when using puller.

7. Remove thermal switch from compressor referring to Thermal Switch Removal and Installation:Manual Type.
8. Remove circlip (1) by using special tool.

Special Tool
(B): 09900-06107




9. Remove magnet clutch coil (2) from compressor (3).

Installation
1. Install magnet clutch coil (2) fitting protrusion (4) of magnet clutch coil onto hole (5) of compressor (3).




2. Install circlip (1) directing chamfer side (6) downward.

Special Tool
(B): 09900-06107

3. Install thermal switch to compressor referring to Thermal Switch Removal and Installation:Manual Type.
4. Install magnet clutch pulley (1).




5. Install new circlip (2) directing chamfer side (3) upward.

Special Tool
(B): 09900-06107




6. Tighten new armature plate bolt to specified torque.

Tightening torque
Armature plate nut a: 16 Nm (1.6 kg.m, 11.5 ft. lbs.)

Special Tool
(B): 09991-06310

7. Adjust clearance between armature plate (1) and magnet clutch pulley by putting shim(s) on compressor shaft. To measure the clearance, perform the following steps.
a. Put compressor in a vise (2).
b. Set dial gauge (3) on armature plate, and then adjust its pointer at O.
c. Connect battery positive terminal (+) to magnet clutch coil lead wire.
d. Connect battery negative terminal (-) to compressor body assembly. (At this point, armature plate and magnet clutch pulley are kept in contact.)
e. Disconnect battery negative terminal (-) to compressor body assembly. (At this point, armature plate and magnet clutch pulley are not in contact.)




f. Read stroke of armature plate from dial gauge by performing step d) and e) repeatedly.
(Stroke of armature plate is clearance between armature plate and magnet clutch pulley.)

Standard clearance between armature plate and magnet clutch pulley:
0.3 - 0.5 mm (0.012 - 0.020 in.)