Overhaul
Starting Motor InspectionReference: Starting Motor Dismounting and Remounting
Reference: Starting Motor Components
Plunger
Inspect plunger for wear. Replace if necessary.
Magnetic Switch
Push in plunger and release it. The plunger should return quickly to its original position. Replace if necessary.
Pull-in coil open circuit test
Check for continuity across magnetic switch "S" terminal (1) and "M" terminal (2). If no continuity, coil is open and should be replaced.
Hold-in coil open circuit test
Check for continuity across magnetic switch "S" terminal (1) and coil case. If no continuity, coil is open and should be replaced.
Rear Bracket Bush
Inspect bush for wear or damage. Replace if necessary.
Brush
^ Check brushes for wear.
Measure length of brushes and if below the limit, replace the brush.
Brush length
Standard: 12.3 mm (0.48 in.)
Limit: 7.0 mm (0.28 in.)
^ Install brushes to each brush holder and check for smooth movement.
Spring
Inspect brush springs for wear, damage or other abnormal conditions. Replace if necessary.
Brush spring tension
Standard: 2.2 kg (4.85 lb)
Limit: 0.6 kg (1.32 lb)
Brush Holder
^ Check movement of brush in brush holder. If brush movement within brush holder is sluggish, check brush holder for distortion and sliding faces for contamination.
Clean or correct as necessary.
^ Check for continuity across insulated brush holder (positive side) and grounded brush holder (negative side).
If continuity exists, brush holder is grounded due to defective insulation and should be replaced.
Armature
^ Inspect commutator for dirt or burn. Correct with sandpaper or lathe, if necessary.
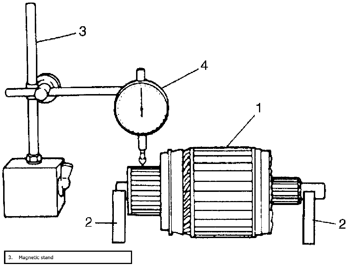
^ Check commutator for uneven wear with armature (1) supported on V-blocks (2). If deflection of dial gauge (4) pointer exceeds limit, repair or replace.
NOTE: The following specification presupposes that the armature is free from bend. Bent armature must be replaced.
Commutator out of round
Standard: 0.05 mm (0.002 in.) or less
Limit: 0.4 mm (0.015 in.)
^ Inspect the commutator for wear. If diameter is below limit, replace the armature.
Commutator outside diameter
Standard: 29.4 mm (1.16 in.)
Limit: 28.8 mm (1.13 in.)
^ Inspect the commutator (1) for insulator (2) depth. Correct or replace if below limit.
Commutator insulator depth "a"
Standard: 0.4 - 0.6 mm (0.015 - 0.024 in.)
Limit: 0.2 mm (0.008 in.)
^ Check the commutator and armature core. If there is continuity, the armature is grounded and must be replaced.
^ Check for continuity between segments. If there is no continuity at any test point, there is an open circuit and the armature must be replaced.
Gears
Inspect the internal gear and the planetary gears for wear, damage or other abnormal conditions.
Replace if necessary.
Pinion and Over-running Clutch
^ Inspect the pinion for wear, damage or other abnormal conditions.
Check that clutch locks up when turned in direction of drive and rotates smoothly in reverse direction. Replace if necessary.
^ Inspect the spline teeth for wear or damage. Replace if necessary.
Inspect the pinion for smooth movement.
Front Housing Bush
Inspect the bush for wear or damage. Replace if necessary.