Curiosii for ever!: Car repair manuals for everyone.

EVAP Leak Check System Leak Inspection

EVAP Leak Check System Leak Inspection

WARNING:
^ To prevent personal injury and damage to equipment, read, understand and follow all "WARNING"s, "CAUTION"s and operating procedures.
^ Use the nitrogen gas. If other kind of gas is used instead of the nitrogen gas, the gasoline may ignite and explode.
^ If the proper procedure is not taken to treat the compressed gas, it may result in death or serious injury accidents. For the correct operation procedures and precautions, contact your local supplier of compressed gases.
^ Wear eye protection that meets OSHA standards.
^ Do not perform tests with running vehicle engine.
^ Close nitrogen cylinder valve after completing test.
^ If light is hot, do not touch the top part of the lamp or lens, do not place it near flammable items and do not put it away in storage until it cools down.
^ Do not perform test near source of spark or ignition.
^ Use only Ultra Trace UVTM Smoke Producing Fluid specified in the operation manual.

CAUTION:
^ Do not use this equipment in a manner not specified by the manufacturer.
^ Do not use smoke for any other system except the evaporative emission system in order to prevent performance degradation of the other systems.
^ Connect power supply cord to battery and chassis ground correctly.
^ Operate and store tester in upright position.
^ Use the white light or optional UV right intermittently.
^ Do not use a light if it is damaged.
^ Do not perform EVAP Leak Check System Smoke Test for the same vehicle more than 5 times. If EVAP Leak Check System Smoke Test was performed more than 5 times, replace EVAP canister.


NOTE: Change the Ultra Trace UVTM Smoke Producing Fluid in the tester once a year.




Evaporative Emission System Tester Components




Locations

Evaporative Emission System Tester Setup

Assembly

WARNING:
^ Use the nitrogen gas. If other kind of gas is used instead of the nitrogen gas, the gasoline may ignite and explode.
^ If the proper procedure is not taken to treat the compressed gas, it may result in death or serious injury accidents. For the correct operation procedures and precautions, contact your local supplier of compressed gas.


CAUTION:
^ DO NOT remove the valve cover cap of the nitrogen gas tank until the nitrogen gas tank is securely attached to the EVAP cart.
^ Pressure regulator has been regulated to indicate the correct pressure. Therefore, DO NOT detach the black vinyl cover of the pressure regulator and regulate it by turning the valve. It may cause the malfunction of tester. When you need to regulate the pressure, refer to Output Pressure Calibration in this instructions and regulate the pressure on the tester side.


NOTE:
^ Nitrogen gas tank is not attached to this tester. Obtain the nitrogen gas tank from your local supplier of compressed gas. We recommend the tank with 125 cubic feet capacity for the nitrogen gas tank.
^ If the nitrogen gas tank pressure is lower than 100 psi, it is required to ask your local supplier of compressed gas to replenish the nitrogen gas to the tank.

1. Unpack the tester from its shipping carton.

NOTE: We recommend that you assemble the tester to the EVAP cart by the assistance of another person.




2. Bring the tester (1) up through the EVAP cart s handlebar, and place it on the two tabs (2) located on the bracket on the EVAP cart.

NOTE: Rotate the tester slightly to one side so that the remote cable clears the handlebar.




3. Install handlebar brackets (1) on the right and left side and the remote switch cord wrap (2) to the tester (3) by using the hexagon screws (4).




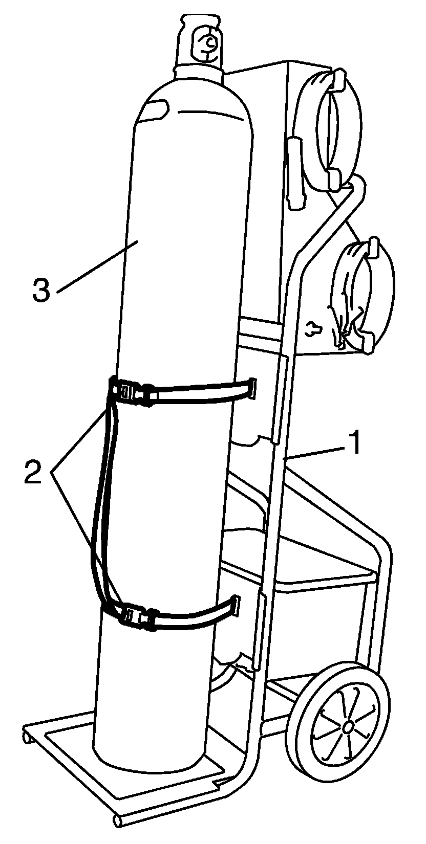
4. Attach the nitrogen tank (3) securely to the EVAP cart (1) by using the tank fixing bands (2) that should be attached to the EVAP cart (1).
5. Remove valve cover cap from the nitrogen tank.
6. Install the pressure regulator (1) to the nitrogen tank.




7. Tighten the nut (2) with wrench.

NOTE: No sealant is required.




8. Install the 90 ° adapter (1) onto the nitrogen inlet (2) on the left side of the tester.




9. Connect regulator to tester hose (1) to pressure regulator (2) and 90 ° adapter (3).

NOTE: Connection should be finger-tightened.

10. Fill the tester with two bottles of smoke producing fluid according to the following procedures.

WARNING: To prevent personal injury and equipment damage, use only manufacturer approved smoke producing fluid in the tester.




a. Remove the refill plug (1) located on the right side of the tester.
b. Cut the end off the plastic tip on top of each smoke producing fluid bottle.
c. With the tester in an upright position, empty the contents of two smoke producing fluid bottles into the refill port.

Filling amount of smoke producing fluid
0.95 liters (32 / 33 US/Imp.oz)

d. Secure the plug back into the refill port.
e. Record your name and the date of the fluid change.

11. Upon completion of all jobs, calibrate evaporative emissions system tester referring to the following.

Output pressure calibration

NOTE:
^ Perform the following calibration when assembling the evaporative emission system tester or replacing the pressure regulator.
^ Once you make this adjustment, you should not have to adjust the tester s regulator again, unless you change the pressure regulator.




1. Connect the power cables (1) from the tester to a fully charged 12 V-battery.
2. Attach the nitrogen/smoke hose (2) to the self-test port (3).
3. Set the NITROGEN/SMOKE valve (4) on the front control panel to NITROGEN.
4. Press and release the remote switch (5) to activate the tester.

NOTE: The remote switch operates in a push ON, push OFF manner.

5. Check whether the pressure/vacuum gauge of evaporative emission system tester indicates 13 in. H2O. If it does not, perform the following regulation.




a. Remove the plastic cap (1) from the regulator located on the bottom of the tester.
b. Press and release the remote switch.

CAUTION: Adjust the pressure regulator carefully. Turning the regulator plunger too far clockwise will cause the plunger to lock up, turning the regulator plunger too far counter clockwise will cause the plunger and spring to fall out of the regulator.




c. Use a flat-blade screwdriver to adjust the regulator plunger until the pressure/vacuum gauge reads 13 in. H2O pressure.
d. Disconnect and reconnect the nitrogen/smoke hose from the self-test port.
e. Press and release the remote switch.
f. Verify pressure is at 13 in. H2O. If not, repeat Steps b) to f), as necessary.
g. Press and release the remote switch to deactivate the tester.
h. Replace the plastic cap on the regulator, and then disconnect the nitrogen/smoke hose from the self-test port.

Pressurization Test

WARNING: Use the nitrogen gas. If other kind of gas is used instead of the nitrogen gas, the gasoline may ignite and explode.

NOTE: A large difference between the vehicle temperature and shop temperature will seriously affect the accuracy of the tests. Always allow enough time for the vehicle s temperature to adjust to the shop temperature.
If the pressure regulator is replaced, perform the calibration referring to Output Pressure Calibration in this instructions.

1. Connect the red battery clip from the tester to the positive battery terminal, and then connect the black battery clip from the tester to chassis ground.

NOTE: The vehicle battery must be fully charged for optimum tester performance.

2. Turn the NITROGEN/SMOKE valve (1) on the front control panel to NITROGEN.

NOTE: Unwind the nitrogen/smoke hose completely from the bracket to optimize the tester s performance.

3. Connect the nitrogen/smoke hose (2) to 0.020 in. (0.5 mm) test orifice (3) on the bottom-front of the tester.




4. Press and release the remote switch (4) to activate the tester.




5. Position the red flag (1) on the flowmeter to align with the floating indicator (2). When the red flag is set, press and release the remote switch to deactivate the tester.
6. Disconnect the nitrogen/smoke hose from the test orifice.
7. Connect the nitrogen/smoke hose onto the fuel cap adapter (1).
8. Remove fuel cap, and then install fuel cap adapter onto the fuel filler neck.




9. Install fuel cap (2) onto the fuel cap adapter.

NOTE: Connections must be tight and leak-free.

10. Turn the ignition switch ON leaving the engine OFF.

WARNING: To prevent personal injury and equipment damage, tests with Evaporative Emission System Tester are performed with the engine OFF.

11. Using the scan tool, close the canister vent valve referring to Step 6) of EVAP Leak Check System Smoke Test.
12. Disconnect pipe from the outlet nozzle (1) of EVAP leak check module.




13. Plug outlet nozzle with finger or the rubber plug.
The evaporative emission system should now be sealed and ready to be tested.

CAUTION: The ventilation nozzle of EVAP leak check module must be blocked securely. The reason for this is that the EVAP system in its design cannot be sealed completely even though the EVAP canister vent valve and the EVAP canister purge valve are both closed because the leak check module internally opens to atmosphere through the leak detection pump. For this reason, if the ventilation nozzle of the leak check module is not blocked completely, nitrogen gas will leak through it possibly resulting in a diagnostic error of EVAP leak.

14. Press and release the remote switch to activate the nitrogen flow and fill the system. Watch the flowmeter s indicator until it stabilizes.

NOTE:
^ The remote switch operates in a push ON, push OFF manner.
^ Larger volume fuel tanks and/or those with lower fuel levels may require several minutes to fill with nitrogen.

15. Compare the stable floating indicator position to the red flag as follows.
a. If indicator floats above the red flag, the result is UNACCEPTABLE. Locate and repair a leak referring to EVAP Leak Check System Smoke Test.




b. If indicator floats below the red flag, the result is ACCEPTABLE. Test is completed.

16. Press and release the remote switch to deactivate the tester.
17. Charge the battery as necessary.