Curiosii for ever!
: Car repair manuals for everyone.
Home
>>
Suzuki
>>
2008
>>
SX4 4WD L4-2.0L
>>
Repair and Diagnosis
>>
Brakes and Traction Control
>>
Antilock Brakes / Traction Control Systems
>>
Service and Repair
>>
ESP(R) Off Switch Inspection
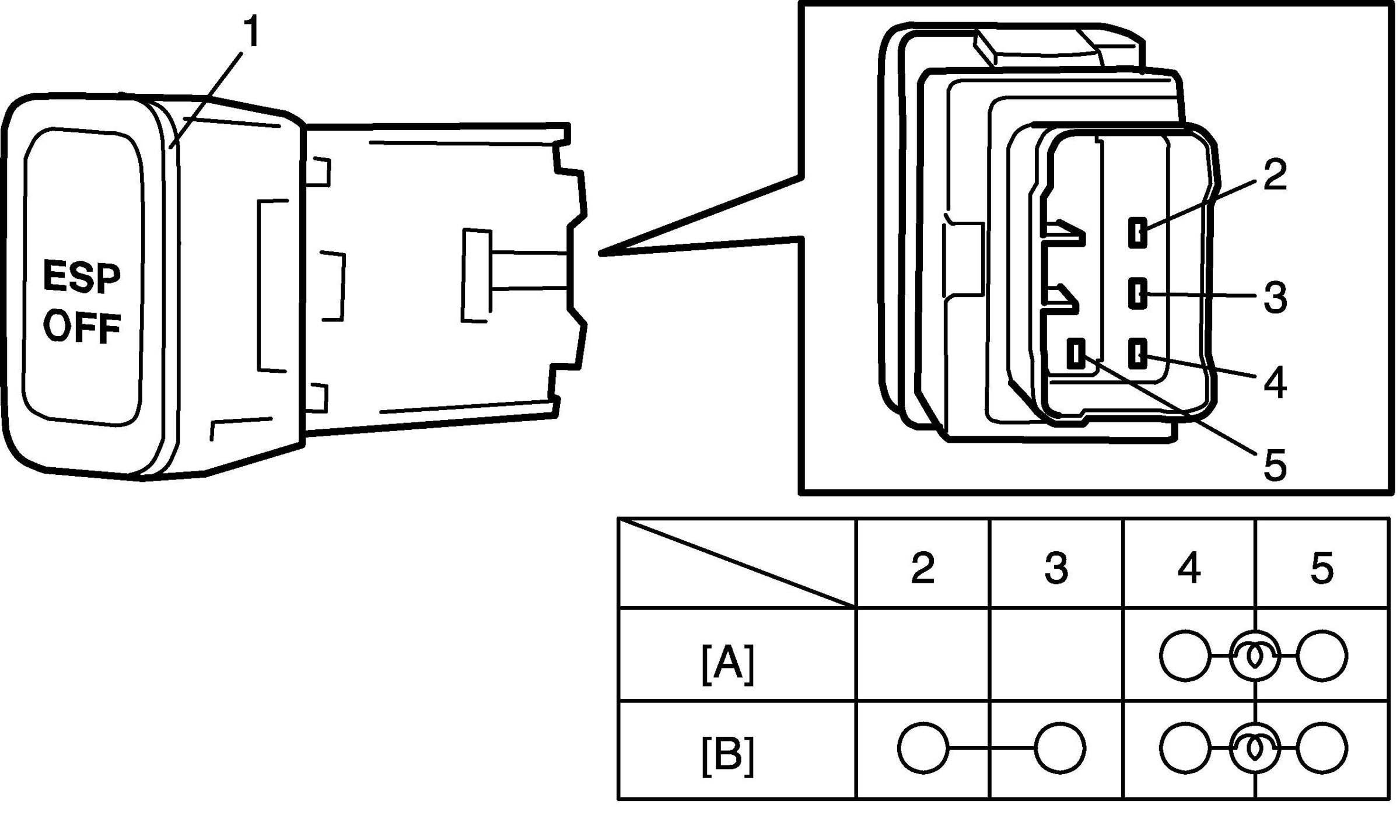
ESP(R) Off Switch Inspection
ESP(R) OFF Switch Inspection
Check for continuity between terminals at each switch position.
If check result is not as specified, replace ESP(R) OFF switch (1).