Curiosii for ever!: Car repair manuals for everyone.

Component Tests and General Diagnostics

Ignition System Check

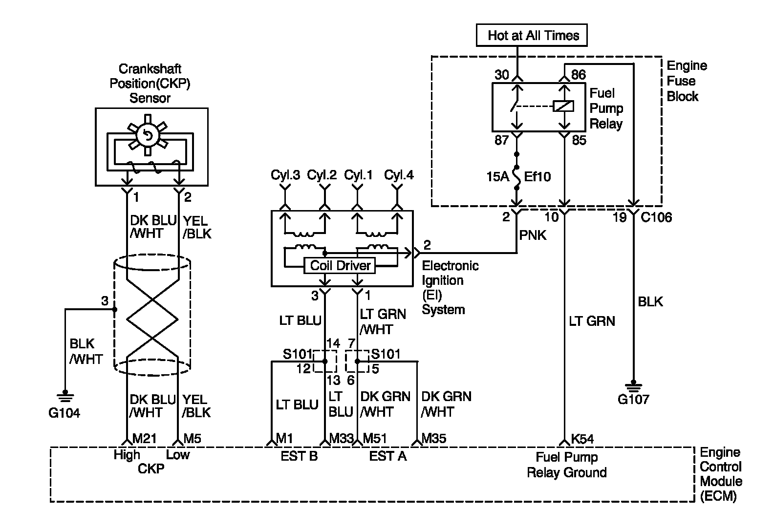
Wiring Diagram:





Circuit Description
The Electronic Ignition (EI) system uses a waste spark method of spark distribution. In this type of EI system, the Crankshaft Position (CKP) sensor is mounted to the oil pump near a slotted wheel that is a part of the crankshaft pulley. The CKP sensor sends reference pulses to the Engine Control Module (ECM). The ECM then triggers the EI system ignition coil. Once the ECM triggers the EI system ignition coil, both of the connected spark plugs fire at the same time. One cylinder is on its compression stroke at the same time that the other is on the exhaust stroke, resulting in lower energy needed to fire the spark plug in the cylinder on its exhaust stroke. This leaves the remainder of the high voltage to be used to fire the spark plug in the cylinder on its compression stroke. Since the CKP sensor is in a fixed position, timing adjustments are not possible or needed.

Step 1 - 10:




Step 11 - 27:




Test Description
The number(s) below refer to step(s) on the diagnostic table.
2. It is important to check for the presence of spark to all of the cylinders to isolate the problem to either EI system ignition coil inputs or outputs.
5. In checking the ECM outputs for the electronic spark timing signal, it is recommended to use an oscilloscope to view the varying voltage signals. In measuring these outputs with a voltmeter, intermittent errors may occur that cannot be seen by a voltmeter.
8. After confirming ECM inputs for the electronic spark timing to the EI system ignition coil are OK, it can be determined that a faulty EI system ignition coil is at fault.
11. After confirming proper CKP inputs to the ECM and no wiring problems present, it can be determined that the ECM is at fault.
24. This step, along with Step 25, checks for battery voltage and a ground to the EI system ignition coil.
25. If the wiring between the EI system ignition coil and the battery positive is OK, the problem is in the ignition relay circuit.

CAUTION: Use only electrically insulated pliers when handling ignition wires with the engine running to prevent an electrical shock.