Curiosii for ever!: Car repair manuals for everyone.

Wiper Relay: Testing and Inspection

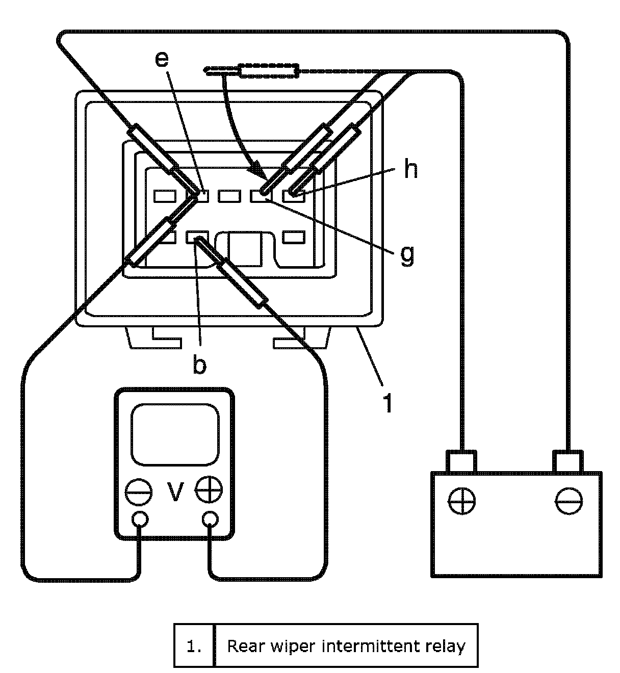
Rear Wiper Intermittent Relay Inspection

Reference: Rear Wiper Intermittent Relay Removal and Installation

1. Check INT circuit as follows.
a. Connect battery positive (+) terminal to "h" terminal and battery negative (-) terminal to "e" terminal.




b. Check that voltage between "b" terminal and "e" terminal changes from 0 V to battery voltage when connecting battery positive (+) terminal to "g" terminal.
If check result is not satisfied, replace relay.
c. Connect battery positive (+) terminal to "c" terminal.




d. Check that voltage between "b" and "e" terminals changes as in the figure when disconnecting battery positive (+) terminal from "c" terminal.
If check result is not satisfied, replace relay.

2. Check WIPER AND WASH circuit as follows.
a. Connect battery positive (+) terminal to "h" terminal and battery negative (-) terminal to "e" terminal.




b. Check that voltage between "b" terminal and "e" terminal changes as below figure when connecting battery positive (+) terminal to "d".
If check result is not satisfied, replace relay.




c. Check that voltage between "b" terminal and "e" terminal changes as in the figure when disconnecting battery positive (+) terminal from "d".
If check result is not satisfied, replace relay.