Curiosii for ever!: Car repair manuals for everyone.

Fuel Return Line: Service and Repair

Fuel Pipe Removal and Installation

WARNING: A small amount of fuel may be released after fuel hose is disconnected. In order to reduce the chance of personal injury, cover hose and pipe to be disconnected with a shop cloth.
Be sure to put that cloth in an approved container when disconnection is completed.


Removal
1) Relieve fuel pressure in fuel feed line.
2) Disconnect negative cable at battery.





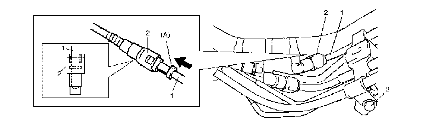
3) Disconnect fuel pipe joint and fuel hose from fuel pipe at the front and rear of each fuel pipe. For quick joint (2), disconnect it as follows:
a) Remove mud, dust and/or foreign material between pipe (1) and joint by blowing compressed air.
b) Unlock joint lock by inserting special tool between pipe and joint.
Special Tool
(A): 09919-47020
c) Disconnect joint (2) from pipe (1).
4) Remove left side parking brake cable mounting bolt (3).
5) Remove front suspension frame.

6) Remove power steering gear box.





7) Mark the location of clamps (1) on fuel pipes (2), so that the clamps can be reinstalled to where they were.
8) Remove pipes (2) with clamp (1) from vehicle.
9) Remove clamp (1) from pipes (2).

Installation
1) Install clamps to marked location on pipes. If clamp is deformed or its claw is bent or broken, replace it with new one.
2 Install pipes with pipe clamps to vehicle.
3) Connect fuel hoses and pipes to each pipe.

CAUTION: When connecting joint, clean outside surfaces of pipe where joint is to be inserted, push joint into pipe till joint lock clicks and check to ensure that pipes are connected securely, or fuel leak may occur.

4) Install left side parking brake cable mounting bolt.
5) Install power steering gear box.
6) Install front suspension frame.
7) With engine OFF, turn ignition switch to ON position and check for fuel leaks.