Curiosii for ever!: Car repair manuals for everyone.

Transmission Mode Switch, A/T

Switch (Hazard, A/C, TCS and Hold Mode), Cluster, Clock and Audio Illumination Circuit Diagram:




WIRING DIAGRAM

C102 - G202:




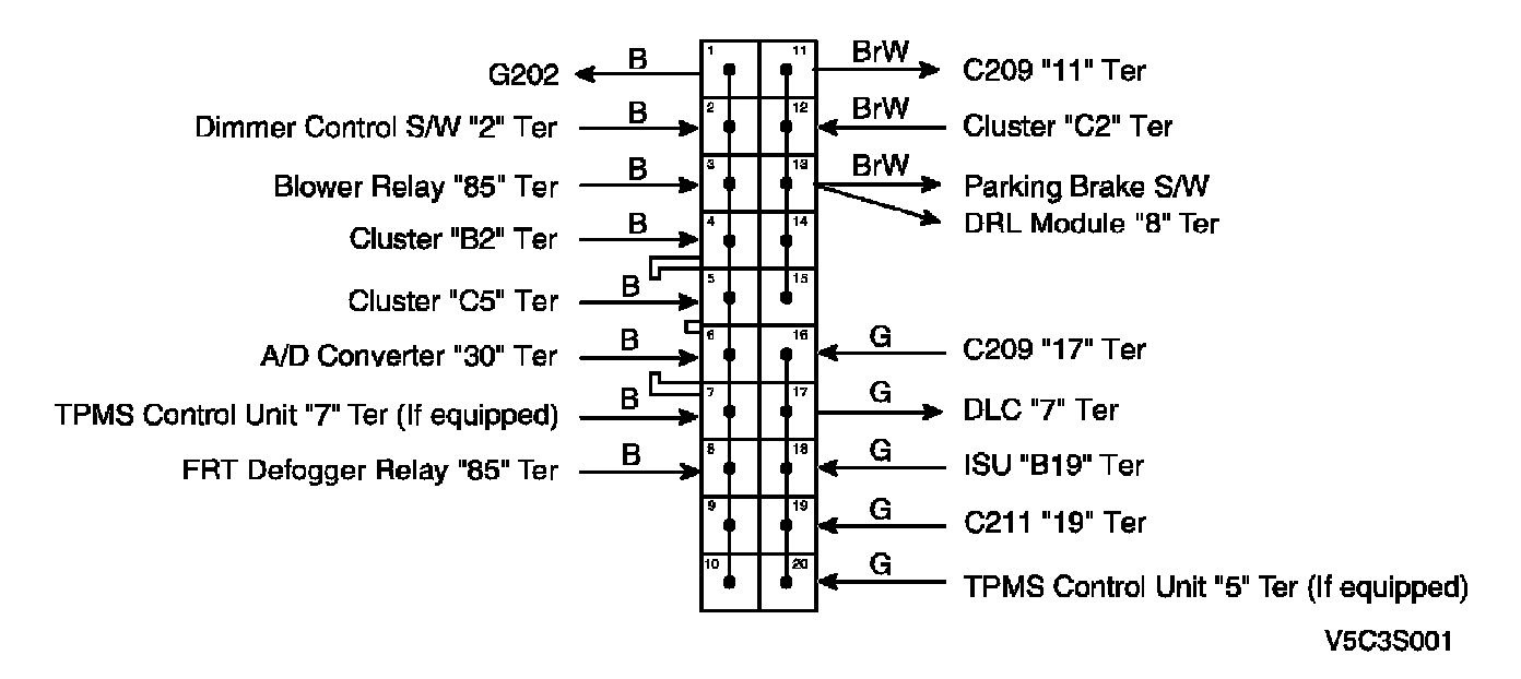
CONNECTOR INFORMATION

Connector Identification Symbol And Pin Number Position:




CONNECTOR IDENTIFICATION SYMBOL AND PIN NUMBER POSITION

W/H INSTRUMENT PANEL:




POSITION OF CONNECTORS AND GROUNDS

S201 (ORANGE):




S202 (ORANGE):




S204 (RED):




SPLICE PACK