Curiosii for ever!: Car repair manuals for everyone.

8. Input Shaft Disassembly and Assembly

Input Shaft Disassembly and Assembly
Disassembly





1. Drive out 5th gear spacer (2), left bearing (3) and 4th gear (4) all at once by using puller (5) and hydraulic press.

CAUTION:
^ To avoid gear tooth from being damaged, support it at flat side of bearing puller.
^ Stop press work in the middle way and take out 5th gear bush to prevent it from being compressed and then continue to remove bearing with gear.

2. Take out 4th gear needle bearing and high speed synchronizer ring.





3. Using special tool, remove circlip (1).

NOTE: For smooth removal of circlip, it is recommended to correct tool tips to be flat.

Special Tool (A): 09900-06107





4. Drive out high speed synchronizer sleeve & hub assembly (2) together with 3rd gear (3) by using puller (4) and hydraulic press.

CAUTION: Make sure to use flat side of puller to avoid causing damage to 3rd gear tooth.

5. Take out 3rd gear needle bearing from shaft.
6. Disassemble synchronizer sleeve & hub assembly.

Assembly
1. Clean all components thoroughly, inspect them for any abnormality and replace with new ones as necessary.





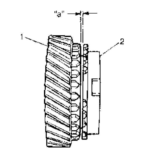
2. If synchronizer parts need to be repaired, check clearance "a" between ring (2) and gear (1), each chamfered tooth of gear, ring and sleeve, then determine parts replacement.
Clearance "a" between synchronizer ring and gear
Standard: 1.0 - 1.4 mm (0.039 - 0.055 inch)
Service limit: 0.5 mm (0.019 inch)





3. To ensure lubrication of input shaft (1), air blow oil holes (2) and make sure that they are free from any obstruction.





4. Fit high speed synchronizer sleeve (4) to hub (3), insert 3 keys (2) in it and then set springs (1) as shown in figure.

NOTE:
^ No specific direction is assigned to high speed synchronizer sleeve or each key but it is assigned as assembly.
^ Size of high speed synchronizer sleeve, hub, keys and springs is between those of low speed and 5th speed ones.

Synchronizer key installation position
"A"=" B"
5. Install 3rd gear needle bearing, apply oil to it, then install 3rd gear (2) and synchronizer ring (3)





6. Drive in high speed sleeve & hub assembly (4) by using special tool and hammer.

NOTE:
^ While press-fitting sleeve & hub, make sure that synchronizer ring key slots are aligned with keys in sleeve & hub assembly.
^ Check free rotation of 3rd gear after press-fitting sleeve & hub assembly.
^ Synchronizer rings for 3rd and 4th are identical.

Special Tool (B): 09913-84510





7. Install circlip (1), needle bearing (2), apply oil to bearing, then install synchronizer ring (3) and 4th gear (4).

CAUTION: Confirm that circlip is installed in groove securely.

8. Press-fit left bearing (2) by using special tool and hammer.
Special Tool (A): 09913-80113





9. Using the same special tool, drive in 5th gear spacer (1).

CAUTION: To prevent 5th gear spacer from being distorted because of excessive compression, do not press-fit it with left bearing at once.