Curiosii for ever!: Car repair manuals for everyone.

25. Automatic Transaxle Unit Assembly

Automatic Transaxle Unit Assembly
1. Apply lithium grease to new oil seal lip.
Grease 99000-25030
2. Install new oil seal to transaxle case.
3. Insert manual valve lever shaft (1) to transaxle case.
4. Install new spacer (3) and manual valve lever (2) to manual valve lever shaft (1).





5. Install new slotted spring pin (4).
6. Rotate new spacer approximately 180 degrees.





7. Stake small hole of new spacer.





8. Press counter drive gear (1), using special tools.
Special Tool
(A): 09924-74510
(B): 09926-68310





9. Install new snap ring (1) to angular ball bearing.
10. Apply A/T fluid to new O-rings.





11. Place 1st and reverse brake piston (1) with O-rings installed.

NOTE: Be careful not to damage O-rings during piston installation.

12. Mount 1st and reverse brake piston return spring (2).





13. Install retainer ring (1) by compressing brake piston return spring with flat end rod or the like.
14. Install separator plates "S", friction plates "F" and retaining plates "R" in the following order.
R -> F -> S -> F -> S -> F -> S -> F -> S -> F -> R





15. Install snap ring (1).

NOTE: Make sure that opening end of snap ring should be aligned with protrusion of transaxle case.





16. Install special tools on transaxle.
Special Tool
(A): 09900-20606
(B): 09900-20701
Measure 1st and reverse brake piston stroke by applying and releasing compressed air (400 - 800 kPa, 4 - 8 kgf/cm2, 57 - 113 psi) through oil hole section (1).
1st and reverse brake piston stroke
Standard: 1.73 - 2.57 mm (0.068 - 0.101 inch)
17. Place compression spring for 2nd and 4th brake into transaxle case.
18. Apply A/T fluid to new O-rings.
19. Assemble 2nd and 4th brake piston assembly.





a. Install rod washer (4), spring (3), brake piston (2) and new E-ring (1) to brake piston rod (5)





b. Install brake inner cover (1) and new O-rings (2).
20. Put 2nd and 4th brake piston spring in transaxle case and insert piston assembly and brake inner cover into case.
21. Apply valve lifter as shown figure and push piston cover.
Special Tool
(A): 09916-14510
(B): 09916-48210





22. Install snap ring by using snap ring pliers (special tool) and re-move special tools (A) and (B).
Special Tool (C): 09900-06108





23. Check 2nd and 4th brake piston stroke.
If its stroke is out of specification, select proper piston rod of 5 type instead of original one and reinstall 2nd and 4th brake piston assembly so as to be within specification.
Available piston rod length
(1): 122.35 mm (4.817 inch)
(2): 122.60 mm (4.827 inch)
(3): 122.85 mm (4.837 inch)
(4): 123.10 mm (4.846 inch)
(5): 123.35 mm (4.856 inch)





24. Install brake cover (1) to transaxle case with snap ring (2), using snap ring pliers.
Special Tool (A): 09900-06108





NOTE: It is best for the head section of piston rod (1) to protrude from the inner side of transaxle case approximately 2 - 3 mm (0.079 - 0.118 inch)





25. Apply A/T fluid to outer surface of three pins (1, 2, 3).
26. Insert three pins to transaxle case.
Pin Dimension
Outer diameter 8.0 mm (0.31 inch) 10.0 mm (0.39 inch) 12.0 mm (0.47 inch)
Length 45.0 mm (1.77 inch) 33.7 mm (1.33 inch) 45.9 mm (1.81 inch)
27. Apply A/T fluid to transaxle lubrication tube (1).
28. Install transaxle lubrication tube (1).





29. Tighten clamp with bolt.
Tightening torque
Lubrication tube clamp bolt (a): 5.5 Nm (0.55 kgf-cm, 4.0 ft. lbs.)
30. Install 2nd and 4th brake band (1).





31. Install 1st and reverse clutch assembly (2).





32. Temporarily tighten bolts of oil pump body (1).
33. Temporarily tighten transaxle housing to transaxle case with 5 - 6 bolts.





34. Stand transaxle up (i.e.: transaxle housing facing down-ward).
35. Install front and rear planetary carrier (1) while rotating counter-clockwise and clockwise.
36. Install sun gear (2) with sun gear thrust roller bearing (3).
Sun gear thrust roller bearing dimension
Outside diameter: 32.5 mm (1.28 inch)
Inside diameter: 18.8 mm (0.74 inch)
Thickness: 2.7 mm (0.11 inch)
37. Apply A/T fluid to carrier rear thrust roller bearing race (4).





38. Install carrier rear thrust roller bearing race (4) to planetary carrier.

39. Install overdrive / coast clutch assembly (1) while rotating counterclockwise and clockwise.

NOTE: Make sure that overdrive / coast clutch assembly locks when turned counterclockwise [A] and moves freely when turned clockwise [B].





40. Install forward clutch assembly while rotating.





41. Check for correct installation of each component parts as follows. Measure the distance "a" by using vernier (1) and straightedge (2). If out of specification, remove forward clutch, overdrive / coast clutch, front and rear planetary carrier and reinstall them properly.
Distance between forward clutch drum (3) and mating surface of transaxle case
42. Apply sealant to mating surface of transaxle case by using a nozzle (2) as shown in figure by such amount that its section is 1.5 mm (0.059 inch) in diameter.
"A": Sealant 99000-31230





43. Install five gaskets (1).

NOTE: There is no installation direction for new gaskets.

44. Apply sealant to thread parts of 2 bolts (3).
"A": Sealant 99000-31230





45. Tighten transaxle rear cover (1) and engine mounting LH bracket (2) with ten bolts (3, 4).
Tightening torque
Transaxle rear cover bolts (a): 25 Nm (2.5 kgf-cm, 18.0 ft. lbs.)
46. Turn over transaxle.
47. Remove transaxle housing.
48. Remove oil pump body, reverse clutch assembly and 2nd and 4th brake band from transaxle case.





49. Apply A/T fluid to counter shaft LH thrust roller bearing (1).
Counter shaft LH thrust roller bearing dimension
Outside diameter: 66.0 mm (2.60 inch)
Inside diameter: 50.0 mm (1.97 inch)
Thickness: 2.7 mm (0.11 inch)
50. Install counter driven gear.
51. Install parking lock rod (2) with parking lock paw (1), parking lock pawl bracket (3) and torsion spring (5).
52. With spacer and torsion spring (6) placed, install bolt and tighten parking lock pawl bracket (3)
Tightening torque
Parking lock pawl bracket bolts (a): 10 Nm (1.0 kgf-cm, 7.5 ft. lbs.)





53. Insert parking lock rod (2) to parking lock pawl bracket (3) and connect parking lock rod (2) with manual valve lever (4).
54. Install 2nd and 4th brake band (1).





55. Install reverse clutch assembly (2) while rotating counterclockwise and clockwise.





56. Check for correct installation of input shaft as follows. Measure the distance "a" by using vernier (1) and straightedge (2). If out of specification, remove input shaft (3) with reverse clutch assembly and reinstall them properly.
Distance between input shaft end and mating surface of transaxle case "a": 85.65 - 86.39 mm (3.372 - 3.401 inch)





57. Tighten manual detent spring (1) with bolts (2).
Tightening torque
Manual detent spring bolts (a): 10 Nm (1.0 kgf-cm, 7.5 ft. lbs.)

NOTE: It is recommended to set to neutral position between spring detent and lever manual valve and then tighten bolts.

58. Install oil strainer (1).

NOTE: When overhauling automatic transaxle, replace oil strainer.





59. Tighten oil reservoir plate (2) with bolts.
Tightening torque
Oil reservoir plate bolts (a): 5.5 Nm (0.55 kgf-cm, 4.0 ft. lbs.)
60. Install three new gaskets (1).
61. Install differential gear assembly (2).
62. Tighten oil pump body (3) with six bolts.
Tightening torque
Oil pump body bolts (a): 30 Nm (3.0 kgf-cm, 22.0 ft. lbs.)
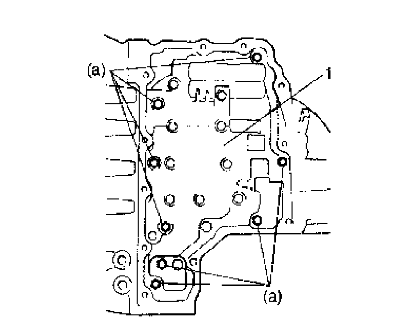
63. Wipe off and clean mating surface between case and housing.





64. Apply sealant to transaxle case by using a nozzle (4) as shown in figure by such amount that its section is 1.5 mm (0.059 inch) in diameter.
"A": Sealant 99000-31230
65. Apply sealant to thread parts of 2 bolts (1).
"A": Sealant 99000-31230





66. Install transaxle housing to transaxle case by tightening bolts to specified torque.
Tightening torque
Transaxle case bolts (a): 30 Nm (3.0 kgf-cm, 22.0 ft. lbs.)
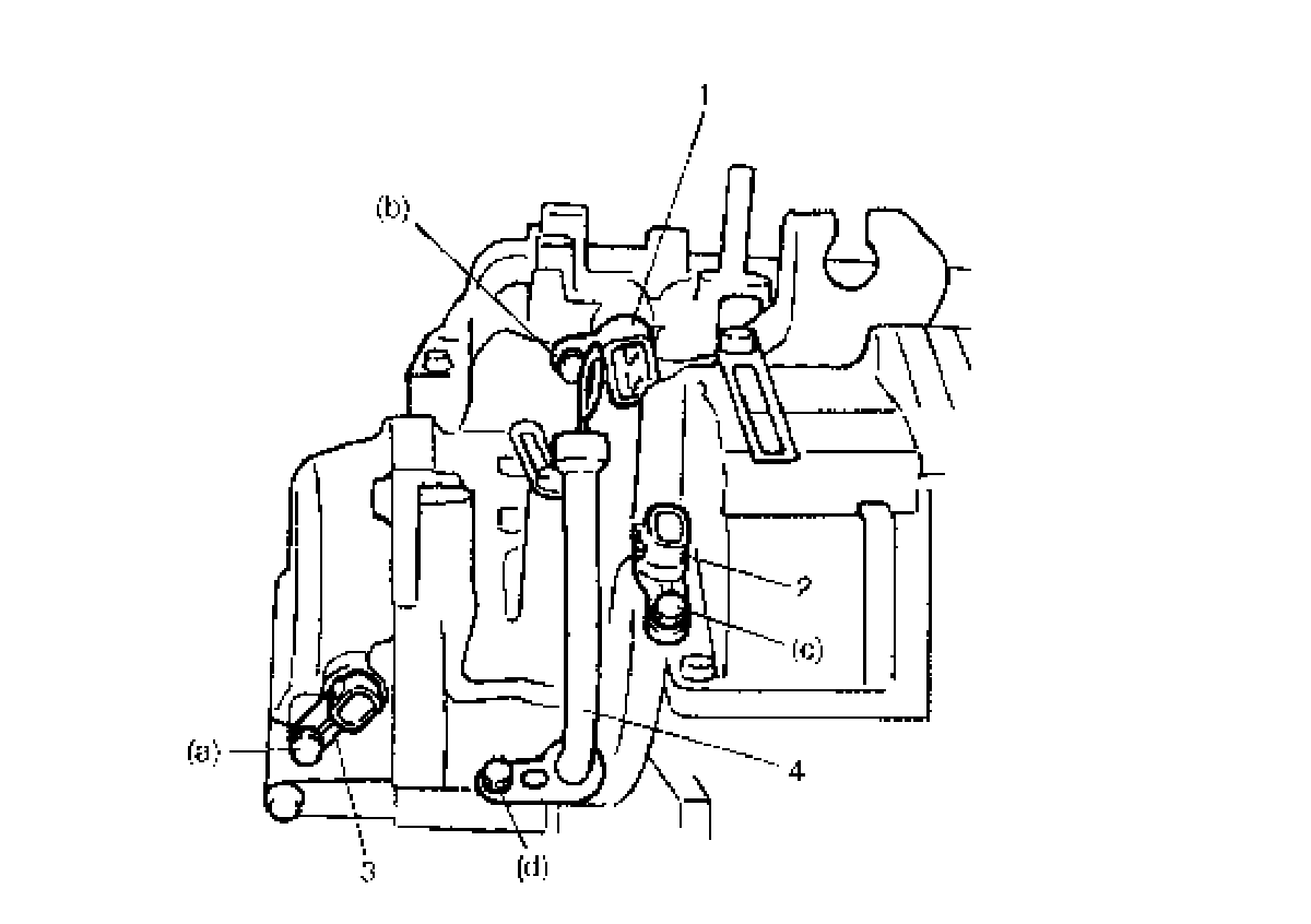
67. Insert wiring harness (1) of valve body connectors.





68. Apply A/T fluid to 2 new gaskets (2) and place them as shown in figure.





69. While holding valve body assembly (1), connect manual valve rod (2) to manual valve lever (3).





70. Tighten valve body assembly (1) with bolts.
Tightening torque
Valve body bolts (a): 10 Nm (1.0 kgf-cm, 7.5 ft. lbs.)
71. Clamp wiring harness (1) of solenoids and transmission fluid temperature sensor.





72. Connect couplers of solenoids by identifying wire color shown in the following table and install transmission fluid temperature sensor (6) to its clamp (7).
Solenoid Coupler Pressure control solenoid valve (2)
Wire Color Pink + Brown
Solenoid Coupler Shift solenoid valve-A (No.1) (3)
Wire Color White
Solenoid Coupler Shift solenoid valve-B (No.2) (4)
Wire Color Black
Solenoid Coupler TCC solenoid valve (5)
Wire Color Yellow

NOTE: There is an interchangeability between shift solenoid valve-A and shift solenoid valve-B for installation.

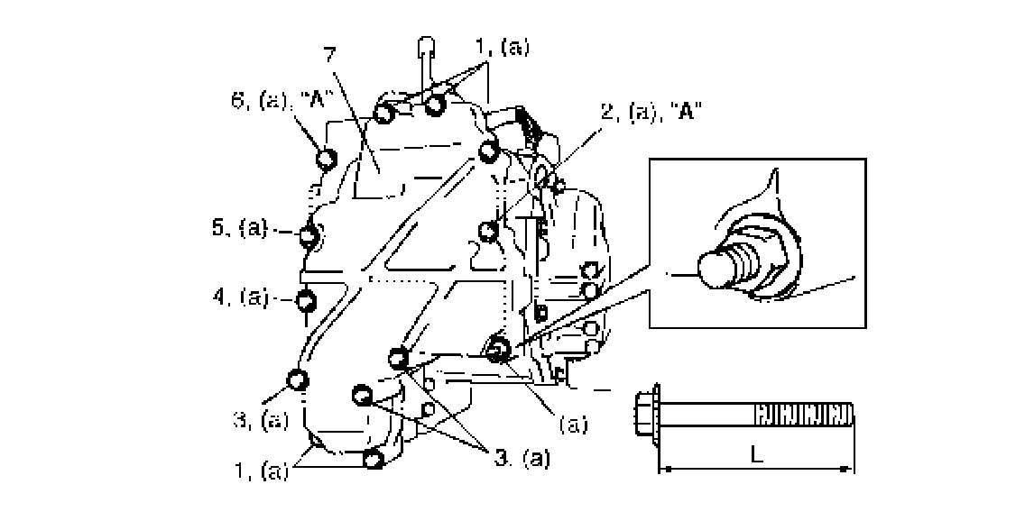
73. Wipe off and clean mating surface between case and side cover.





74. Apply sealant to transaxle case by using a nozzle (1) as shown in figure by such amount that its section is 1.5 mm (0.059 inch) in diameter.
"A": Sealant 99000-31230
75. Apply sealant to thread parts of 2 bolts (2, 6).
"A": Sealant 99000-31230





76. Install transaxle side cover (7) with bolts.
Bolt: Length"L"
(1): 38 mm (1.50 inch)
(2): 60 mm (2.36 inch)
(3): 72 mm (2.83 inch)
(4): 25 mm (2.36 inch)
(5): 55 mm (2.17 inch)
(6): 25 mm (0.98 inch)
Tightening torque
Transaxle side cover bolts (a): 24 Nm (2.4 kgf-cm, 17.5 ft. lbs.)





77. Install the following parts (with new O-rings installed) with bolts.
^ Valve body connector (1)
^ Output shaft speed sensor (2)
^ Input shaft speed sensor (3)
^ Fluid filler tube (4)
Tightening torque
Input shaft speed sensor bolt (a): 5.5 Nm (0.55 kgf-cm, 4.0 ft. lbs.)
Valve body connector bolt (b): 7.0 Nm (0.7 kgf-cm, 5.0 ft. lbs.)
Output shaft speed sensor bolt (c): 5.5 Nm (0.55 kgf-cm, 4.0 ft. lbs.)
Fluid filler tube bolt (d): 5.5 Nm (0.55 kgf-cm, 4.0 ft. lbs.)
78. Apply A/T fluid to new O-ring.





79. Install vehicle speed sensor (with new O-ring installed) (1) with bolt.
Tightening torque
Vehicle speed sensor bolt (a): 7.0 Nm (0.7 kgf-cm, 5.0 ft. lbs.)





80. Install transmission range sensor assembly.
a. Place new rubber plate and new lock washer (3) or transmission range sensor (1).
b. Tighten transmission range sensor lock nut (4).
Tightening torque
Transmission range sensor lock nut (a): 7.0 Nm (0.7 kgf-cm, 5.0 ft. lbs.)
c. Adjust transmission range sensor (1).
d. Tighten transmission range sensor bolts (2).
Tightening torque
Transmission range sensor bolts (b): 25 Nm (2.5 kgf-cm, 18.0 ft. lbs.)
e. Install manual shift lever (5) with spring washer and nut.
Tightening torque
Manual lever nut (c): 13 Nm (1.3 kgf-cm, 9.5 ft. lbs.)





81. Install oil cooler pipes (1).
Tightening torque
A/T fluid pipe union bolts (a): 27 Nm (2.7 kgf-cm, 19.5 ft. lbs.)
A/T fluid pipe nut (b): 18 Nm (1.8 kgf-cm, 13.0 ft. lbs.)

NOTE: Make sure to use new gaskets (2) for A/T fluid pipe union bolts.





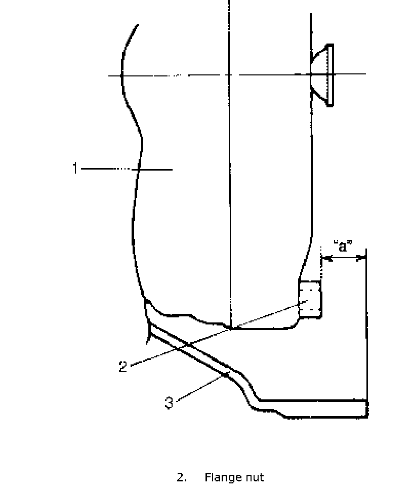
82. Install torque converter (1) to input shaft.
a. Install torque converter (1), using care not to damage oil seal of oil pump.
b. After installing torque converter (1), check that distance "a" is within specification.
Distance between torque converter and mating surface of transaxle housing (3) "a": More than 21.4 mm (0.843 inch)
c. Check torque converter (1) for smooth rotation.

CAUTION:
^ Before installing converter, make sure that its pump hub portion is free from nicks, burrs or damage which may cause oil seal to leak.
^ Be very careful not to drop converter on oil pump gear. Damage in gear, should it occur, may cause a critical trouble.