Curiosii for ever!: Car repair manuals for everyone.

Steering Column: Service and Repair

Steering Column Assembly Removal and Installation

CAUTION: Once the steering column is removed from the vehicle, the column is extremely susceptible to damage.

^ Dropping the column assembly on its end could collapse the steering shaft or loosen the plastic shear pins which maintain column length.
^ Leaning on the column assembly could cause it to bend or deform. Any of the damage could impair the column's collapsible design.

Removal

WARNING: Never rest a steering column assembly on the steering wheel with the air bag (inflator) module face down and column vertical. Otherwise, personal injury may result.

1. Disconnect negative cable at battery.
2. Disable air bag system.
3. Remove steering wheel.
4. If it is necessary to remove contact coil and/or combination switch assembly, remove them.





5. Remove steering column hole cover (1).





6. Remove steering column cover screws (1).
7. Separate upper column cover (2) and lower column cover (3), then remove these covers.





8. Disconnect connectors (1) from combination switch assembly (2).





9. Disconnect ignition switch connectors (1) from ignition switch (2).





10. For A/T vehicle, disconnect shift (key) interlock cable (1) from ignition switch with ignition switch turned at "ACC" position. After disconnecting, turn ignition switch to "LOCK" position.





11. Disconnect horn connector (black) (1) from instrument panel harness.
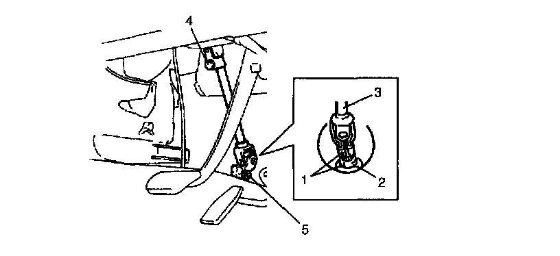
12. Remove steering joint cover.





13. Make alignment marks (1) on pinion shaft (2) and joint of steering lower shaft (3) for a guide during reinstallation.
14. Loosen joint bolt (steering column side) (4) and remove joint bolt (pinion shaft side) (5) and disconnect steering lower shaft (3) from pinion shaft (2).





15. Remove steering column mounting nuts ("A", "B").
16. Remove steering column assembly from vehicle.

CAUTION: Don't separate steering column assembly into steering column and shaft. If column or shaft is defective, replace as an assembly.

17. If it is necessary to remove steering lock assembly (ignition switch), remove it.

Installation

CAUTION: After tightening steering column mounting nuts, shaft joint bolts should be tightened. Wrong tightening order could cause a damage to shaft joint.

1. Be sure that front wheels and steering wheel are in straight forward state. If steering lock assembly (ignition switch) is removed, install it.
2. When installing new steering column, assembly, place match mark at the same position of new steering column assembly as that of removed steering column assembly.
3. Tighten mounting nuts to specified torque in the order "A" -"B" indicated in figure.
Tightening torque
Steering column mounting nut (a): 14 Nm (1.4 kgf-m, 10.5 ft. lbs.)
4. Insert lower shaft (2) into pinion shaft (3) with matching marks (4) made before removal.





5. Tighten joint bolts (1) in order "C - D" indicated in figure to specified torque.
Tightening torque
Steering shaft joint bolt (steering column side) (b): 28 Nm (2.8 kgf-m, 20.0 ft. lbs.)
6. Install steering joint cover.





7. For A/T vehicle, connect shift (key) interlock cable (1) to ignition switch with ignition switch turned at "ACC" position. And then turn ignition switch "LOCK" position.
8. If contact coil and combination switch assembly is removed, install it.
9. Connect the following connectors disconnected in "Removal".
^ Ignition switch
^ Combination switch
^ Horn





10. Install upper and lower column covers ((2) and (3)) to steering column assembly by screws (1).
11. Install steering wheel.





12. Install steering column hole cover (1).
13. Enable air bag system.
14. Connect negative cable at battery.