Curiosii for ever!: Car repair manuals for everyone.

SDM

SDM Removal and Installation

WARNING:
During service procedures, be very careful when handling a Sensing and Diagnostic Module (SDM).
Be sure to read Precautions on Service and Diagnosis of Air Bag System:Advanced Air Bag before starting to work and observe every precaution during work. Neglecting them may result in personal injury or inactivation of the air bag system when necessary.


Removal
1. Disconnect negative cable at battery.
2. Disable air bag system referring to Disabling Air Bag System:Advanced Air Bag.
3. Remove center console box upper cover.
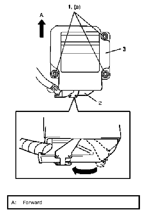
4. Disconnect SDM connector (2) from SDM (3).




5. Remove SDM (3) from vehicle.

Installation

Reference: SDM Inspection:Advanced Air Bag

1. Check that none of the following faulty conditions exists.
- Bend, scratch, deformity in vehicle body where SDM is mounted.
- Foreign matter or rust on mating surface of vehicle body where SDM is mounted.
2. Install SDM (2) to vehicle.

CAUTION: Ensure that arrow on the SDM is pointing toward the front of the vehicle.

3. Tighten SDM bolts to specified torque.

Tightening torque
SDM bolt a: 7 N.m (0.7 kg-m, 5.0 lb-ft)




4. Connect SDM connector (1) to SDM (2) securely.
5. Install center console box upper cover.
6. Enable air bag system referring to Enabling Air Bag System:Advanced Air Bag.
7. Connect negative cable at battery.