Curiosii for ever!: Car repair manuals for everyone.

Turn Signal Relay: Testing and Inspection

Turn Signal and Hazard Relay Inspection




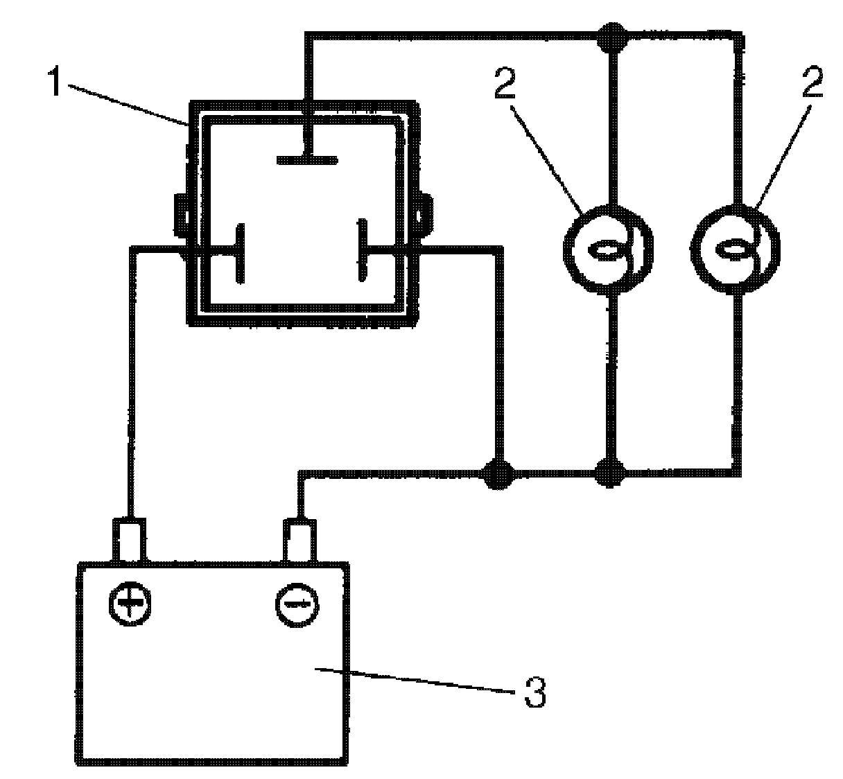
Connect turn signal and hazard relay (1), battery (3) and two test bulbs (12 V, 27 W) (2) as shown.
Unless a continued flash on and off is visible, replace relay.

Reference flashing cycle: 60 - 120 cycle/minute