Curiosii for ever!: Car repair manuals for everyone.

Blower Unit

Blower Unit Removal and Installation

Reference: Blower Unit Components

Removal
1. Set air intake switch to fresh air mode with ignition switch on, and then turn off ignition switch after three seconds. (It takes about three seconds to move over air intake selector door to fresh air position.)
2. Disconnect negative (-) cable at battery.
3. Remove glove box.




4. Remove instrument panel passenger lower member (1).




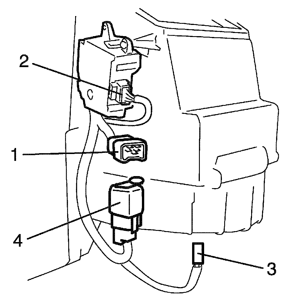
5. Disconnect main harness connector (1) and clamp, air intake control actuator connector (2) and blower motor connector (3).
6. Remove blower motor relay (4) from blower unit.




7. Remove blower unit (1) from vehicle body.

Installation
Reverse removal procedure to install blower unit noting the following instruction.
- When installing each part, be careful not to catch any cable or wiring harness.