Curiosii for ever!: Car repair manuals for everyone.

Rearend Door Lock Assembly (For Wagon Model)

Rearend Door Lock Assembly (for Wagon Model) Removal and Installation

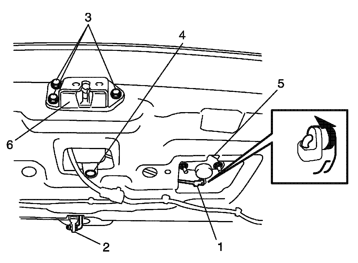
Reference: Rearend Door Lock Assembly (for Wagon Model) Components

Removal




1. Remove door trim (1) from rearend door panel (2).




2. Disconnect door lock control rod (1) and door handle rod (2).
3. Disconnect door lock motor lead wire (if equipped).
4. Loosen door latch bolts (3) and clip (4), and remove door latch assembly (6).
5. Remove rearend door lock cylinder (5).

Installation

Reference: Rearend Door Lock Assembly (for Wagon Model) Inspection




Reverse removal procedure to install back door lock assembly noting the following instruction.
- Adjust door latch striker so that its center aligns with the center of groove in door latch base.