Curiosii for ever!: Car repair manuals for everyone.

Procedures

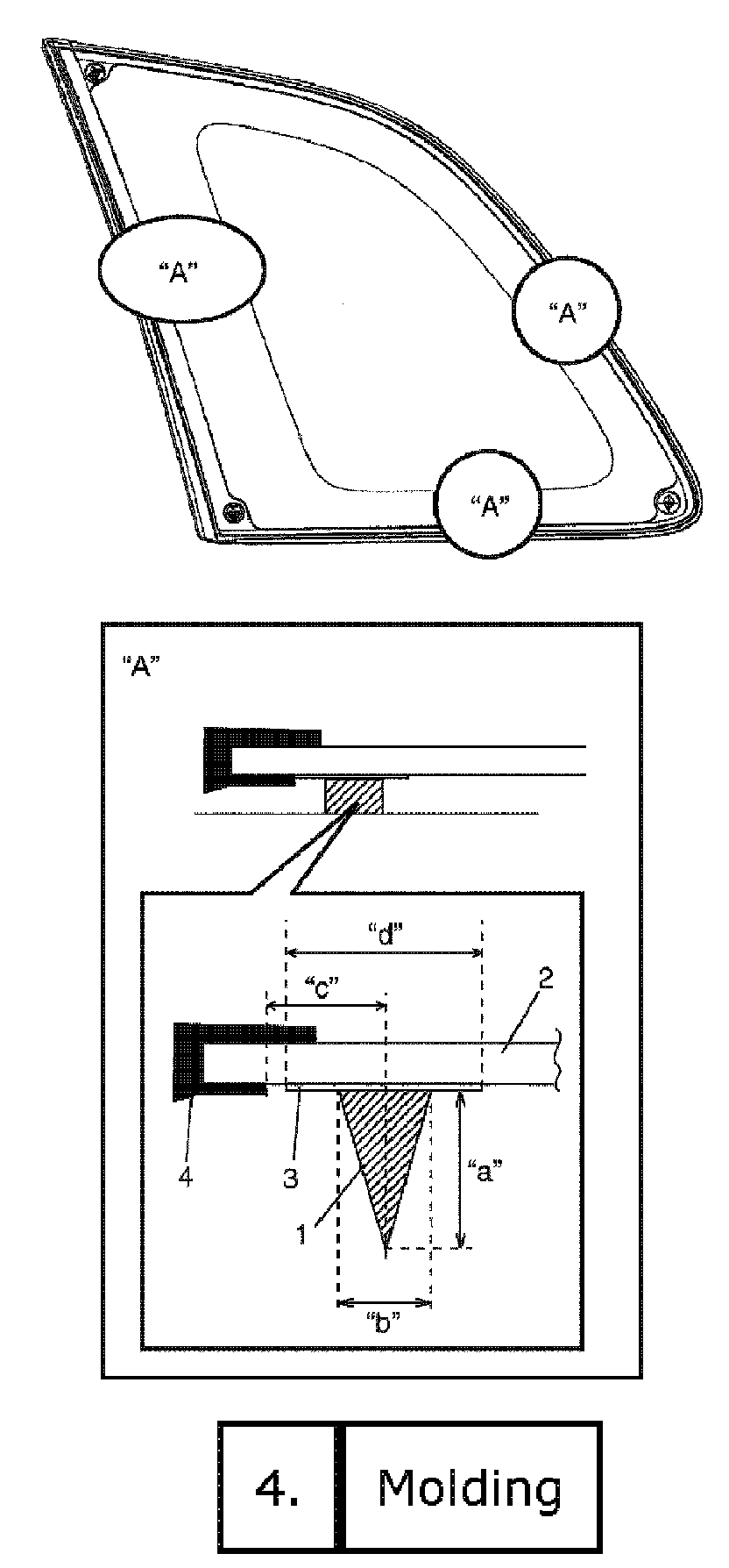
Quarter Window (for Wagon Model) Removal and Installation




Refer to Windshield Removal and Installation as removal and installation procedures are basically the same. However, note the following.
- Observe the following precautions when applying adhesive (1) along glass (2) edge.
- Adhesive (1) should be applied evenly especially in height.
- Be careful not to damage primer (3).
- Press glass against body quickly after adhesive (1) is applied.

Adhesive amount specification and position for quarter window:
Height a : 16 mm (0.63 in.)
Width b : 9 mm (0.35 in.)
Position c : 8 mm (0.31 in.) for glass front section
Position c : 10 mm (0.39 in.) for glass rear sections
Position c : 12 mm (0.47 in.) for glass bottom section
Width d : 14 mm (0.55 in.)