Curiosii for ever!: Car repair manuals for everyone.

Impact Sensor: Service and Repair

Forward Sensor Removal and Installation

WARNING: During service procedures, be very careful when handling a sensor.
- Never strike or jar a sensor.
- Under some circumstances, it could cause improper operation of the air bag system. A sensor and mounting bracket bolts must be carefully torqued to assure proper operation.

Removal

1. Disconnect negative cable at battery.
2. Disable air bag system. Refer to Air Bag(s) Arming and Disarming.
3. For right side forward sensor, remove protector plate.




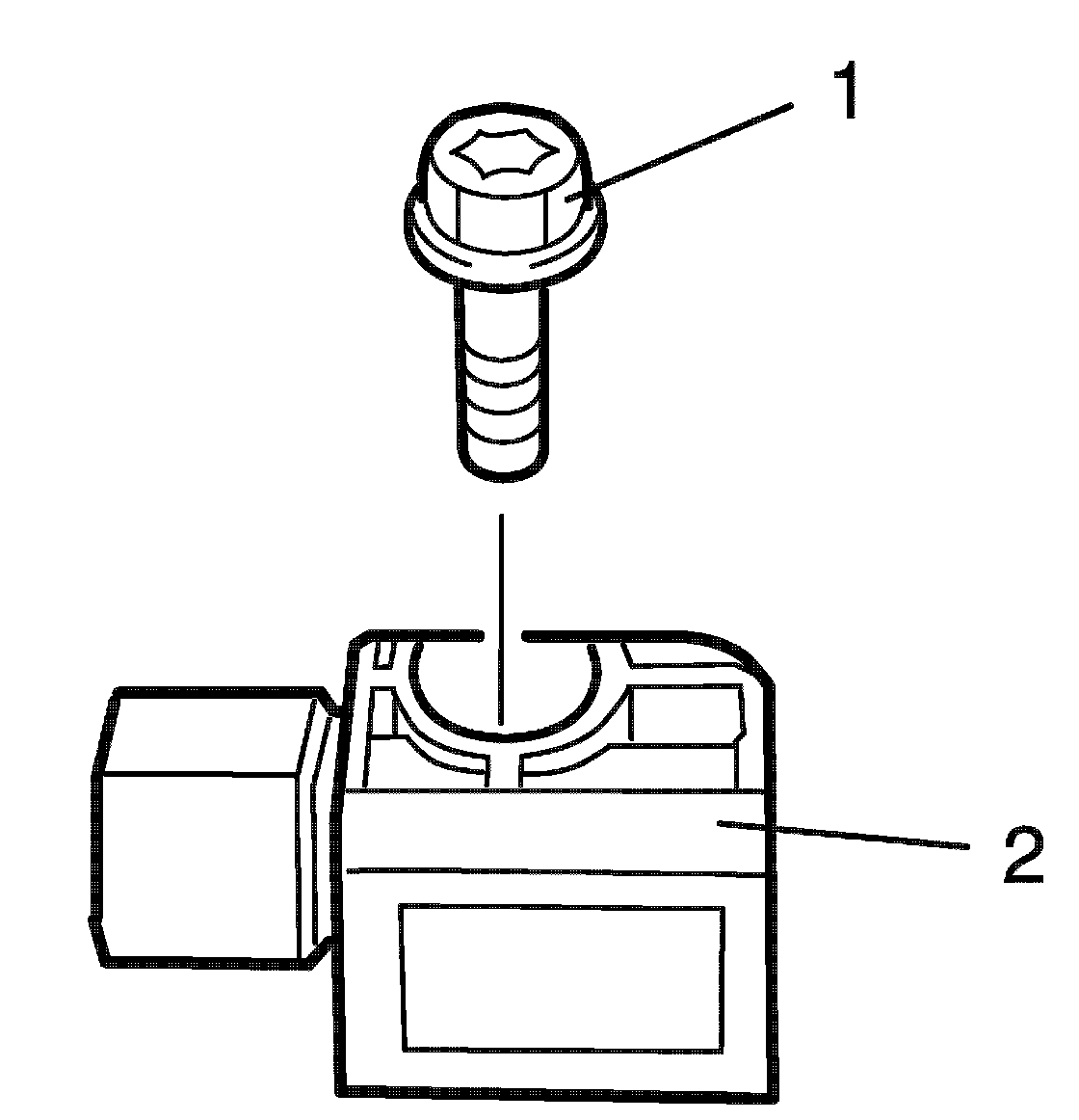
4. Disconnect forward sensor connector sliding connector outer (2) as shown.




5. Remove forward sensor bolt (1) and forward sensor (2).

Installation

Reference: Forward Sensor Inspection

CAUTION: Proper operation of forward sensor requires sensor be rigidly attached to vehicle structure and that the arrow on sensor bracket be pointing toward the front of the vehicle.

1. Check that none of the following faulty conditions exists.
- Bend, deformity or rust of front panel.
- Foreign matter on mating surface of sensor.




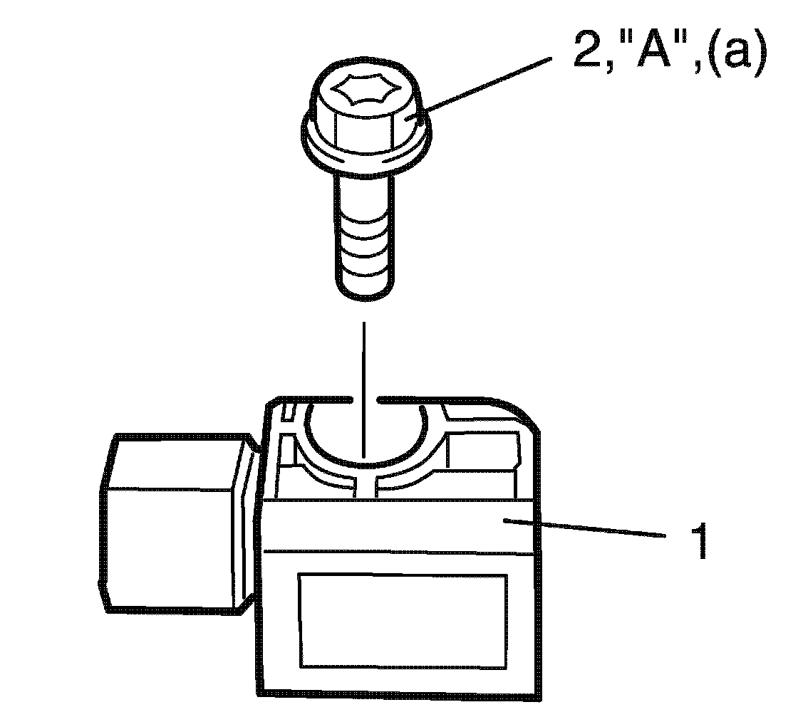
2. Apply thread lock cement to mounting bolts thread. Install forward sensor (1) on front panel and tighten mounting bolt (2) to specified torque.

"A": Thread lock cement 99000-32100

Tightening torque
Forward sensor mounting bolt a: 9 N.m (0.9 kg-m, 6.5 lb-ft)

3. Connect forward sensor connector by pushing connector till click is heard from it.
4. Connect negative cable at battery.
5. Enable air bag system. Refer to Air Bag(s) Arming and Disarming.