Curiosii for ever!: Car repair manuals for everyone.

Transmission Temperature Sensor/Switch: Testing and Inspection

Transmission Fluid Temperature Sensor Inspection
1. Lift up vehicle.
2. With engine is cool, remove drain plug and drain A/T fluid.
3. Install drain plug.
4. Disconnect fluid cooler inlet hose (outlet from fluid cooler) from pipe, and remove A/T fluid cooler pipe (lower side).
5. Remove A/T side cover.
6. Disconnect valve body connector (1).





7. Warm up transmission fluid temperature sensor (2). Check resistance between terminals of A/T side valve body connector. Thus make sure its resistance decrease with the increase of temperature.
After inspection, install transmission fluid temp. sensor and connect valve body connector.
Transmission fluid temperature sensor resistance (Temperature: Resistance)
10°C (50°F): 5.8 - 7.1 kohms
110°C (230°F): 231 - 263 ohms
145°C (293°F): 105 - 117 ohms
8. Clean mating surface of A/T side cover and A/T case.
9. Apply sealant to mating surface of A/T side cover and A/T case by using a nozzle, referring to Automatic Transaxle Unit Assembly.
Sealant 99000-31230





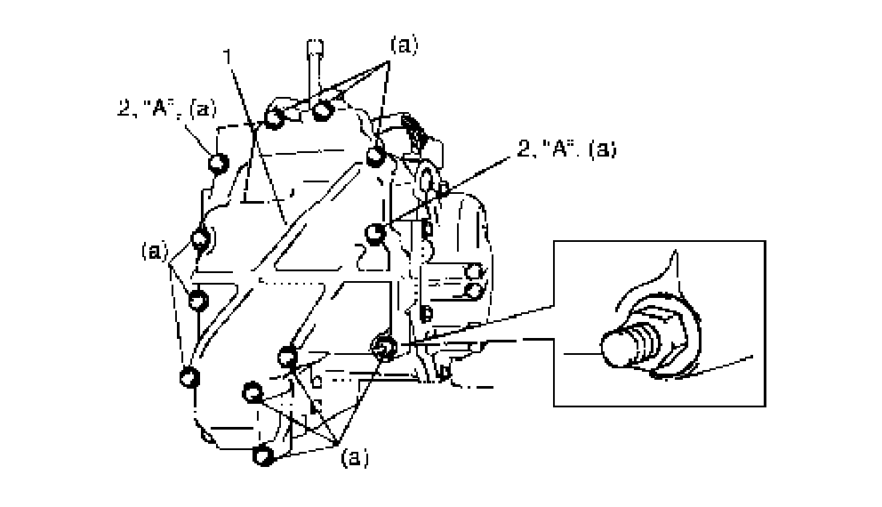
10. Install transaxle side cover (1).

NOTE: Apply sealant to 2 bolts (2).

"A": Sealant 99000-31230
Tightening torque
Transaxle side cover bolts (a): 24 Nm (2.4 kgf-cm, 17.5 ft. lbs.)





11. Install A/T fluid cooler pipes (1).
Tightening torque
A/T fluid pipe union bolts (a): 27 Nm (2.7 kgf-cm, 19.5 ft. lbs.)
A/T fluid pipe nut (b): 18 Nm (1.8 kgf-cm, 13.0 ft. lbs.)

NOTE: Make sure to use new gaskets (2) for A/T fluid pipe union bolts.

12. Install A/T fluid cooler hoses.
13. Pour A/T fluid.
14. Verify that there is no A/T fluid leakage.