Curiosii for ever!: Car repair manuals for everyone.

Blower Unit

Removal
1. Disconnect negative (-) cable at battery.
2. Remove glove box.




3. Remove instrument panel passenger lower member (1).
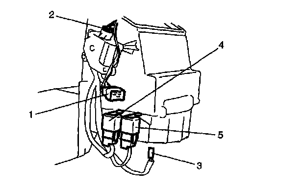
4. Disconnect main harness connector clamp (1), air inlet actuator connector (2) and blower connector (3).




5. Remove blower motor relay (4) and blower motor high relay (5).




6. Remove blower unit (1) from vehicle.

Installation
Reverse removal procedure to install blower unit noting the following instruction.
- When installing each part, be careful not to catch any cable or wiring harness.