Curiosii for ever!: Car repair manuals for everyone.

Differential

Inspection
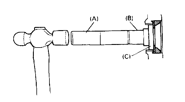
1. Hold differential assembly with soft jawed vice and set special tools as shown.
Special tool
(A): 09900-20606
(B): 09900-20701





2. Measure differential gear thrust play.
Differential gear thrust play: 0.06 - 0.18 mm (0.0024 - 0.0071 inch)
3. If thrust play is out of specification, replace differential case.

Differential Ring Gear Removal
1. Unclamp 4 ring gear set bolt lock plates.





2. Remove 8 bolts and 4 ring gear set bolt lock plates.

NOTE: Don't reuse lock plates.

3. Remove differential ring gear.

Differential Ring Gear Installation





1. Heat differential ring gear to about 100°C (212°F) in oil bath.
2. Clean mating surfaces of differential ring gear and differential case.
3. Install differential ring gear to differential case.





4. Install new 4 ring gear set bolt lock plates and 8 bolts and tighten bolts to specified torque.
Tightening torque
Ring gear set bolt: 99 Nm (9.9 kgf-m, 72.0 ft. lbs.)
5. Clamp bolts with lock plate securely.
6. Install differential assembly to transmission case and tighten case bolts to specified torque.
Tightening torque
Transmission case bolt: 30 Nm (3.0 kgf-m, 22.0 ft. lbs.)





7. Check preload of differential by using special tool.
Differential preload (starting torque): 1.0 - 1.4 Nm (0.10 - 0.14 kgf-m, 0.74 - 1.01 ft. lbs.)

NOTE:
^ If preload exceeds specified value, reselect washer on both transmission case and housing.
^ Preload changes about 0.3 - 0.4 Nm (0.03 - 0.04 kgf-m, 0.22 - 0.29 ft. lbs.) with each washer thickness.
Washer thickness (mm): 2.35, 2.40, 2.45, 2.50, 2.55, 2.60, 2.65, 2.70, 2.75, 2.80, 2.85, 2.90, 2.10, 2.15, 2.20, 2.25, 2.30

8. Install differential side oil seal.

Bearing Outer Race Removal
1. Remove differential side oil seal.

NOTE: Don't reuse removed oil seal.





2. Drive out taper roller bearing outer race and washer from transmission case by using special tools or the like.
Special tool
(A): 09924-74510
(B): 09924-74590
(C): 09924-84510-005

Bearing Outer Race Installation





1. Install bearing outer race and washer by using special tool and hummer.
Special tool
(A): 09924-74510
(B): 09944-68210