Curiosii for ever!: Car repair manuals for everyone.

Transmission Temperature Sensor/Switch: Testing and Inspection

On-Vehicle Inspection
1. Lift up vehicle.
2. With engine is cool, remove drain plug and drain A/T fluid.
3. Install drain plug.
4. Disconnect oil cooler inlet hose (outlet from oil cooler) from pipe, and remove A/T fluid pipe (lower side).
5. Remove A/T side cover.
6. Disconnect wire harness at coupler of valve body (2).





7. Warm up transmission fluid temp. sensor (1). Check resistance between terminals of coupler at valve body. Thus make sure its resistance decrease with the increase of temperature. After inspection, connect coupler.
Transmission fluid temp. sensor specification
10°C (50°F): 6.4 k ohms
110°C (230°F): 247 ohms
145°C (293°F): 110 ohms
8. Wipe off and clean contacting surface between case and side cover.





9. Apply sealant to transmission case as shown.
"A": Sealant (SUZUKI BOND NO. 1216) 99000-31160





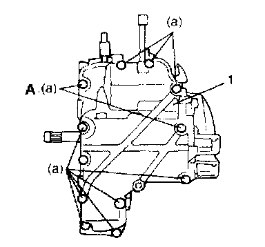
10. Tighten transmission side cover (1) with bolts.
Tightening torque
Transmission side cover bolt (a): 18 Nm (1.8 kgf-m, 13.0 ft. lbs.)

NOTE: Check to make sure that new bolts are used for bolts indicated as (A) in the figure.





11. Install A/T fluid cooler hose and pipe (1), and tighten union bolt to specified torque.
Tightening torque
A/T fluid pipe union bolt: 27 Nm (2.7 kgf-m, 19.5 ft. lbs.)
A/T side cover bolt: 18 Nm (1.8 kgf-m, 13.0 ft. lbs.)

NOTE: Make sure to use new gaskets (2) for A/T fluid pipe union bolts.

12. Refill A/T fluid.
13. Verify that there is no A/T fluid leakage.