Curiosii for ever!: Car repair manuals for everyone.

Load Test




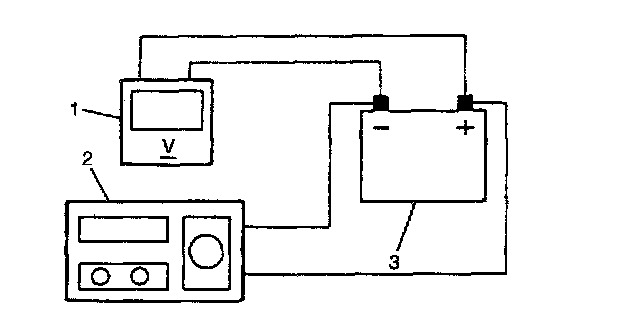
1. Connect voltmeter (1) and battery load tester (2) across battery (3) terminals.
2. Apply 190 ampere load for 15 seconds to remove surface charge.
3. Remove the load and wait 15 seconds to let battery recover.
4. Apply 190 ampere load. Read voltage after 15 seconds.

5. Remove the load.
- The voltage does not drop below the minimum as listed in the table.
- Battery is good.
- The voltage does drop below the minimum as listed in the table.
- Replace the battery.






NOTE:
Temperature of battery will affect minimum voltage required to pass load test.
See the table and estimate the temperature battery has been exposed to for the last several hours.