Curiosii for ever!: Car repair manuals for everyone.

Air Bag Control Module: Service and Repair

WARNING: During service procedure be very careful when handling Sensing and Diagnostic Module (SDM). Be sure to read "Precautions on Service and Diagnosis of Air Bag System" and "Precautions on Handling and Storage of Air Bag System Components" before starting to work and observe every precaution during work. Neglecting them may result in personal injury or undeployment of the air bag when necessary.

Removal





1. Disconnect negative cable at battery.
2. Disable air bag system referring to "Disabling Air Bag System".
3. Remove console box extension (2).
4. Remove 4 bolts and steering support member lower brace (1).
5. Disconnect SDM connector (3) from SDM (1).

CAUTION: As this connector has a connector lock lever (4), refer to the figure for its removal procedure.




6. Remove SDM and SDM bracket (2) from vehicle.

Installation
1. Check the none of the following faulty conditions exists.
- Bend, scratch, deformity in vehicle body mounted on SDM bracket.
- Foreign matter or rust on mating surface of vehicle body mounted on SDM bracket.
- Loosened GND screw.




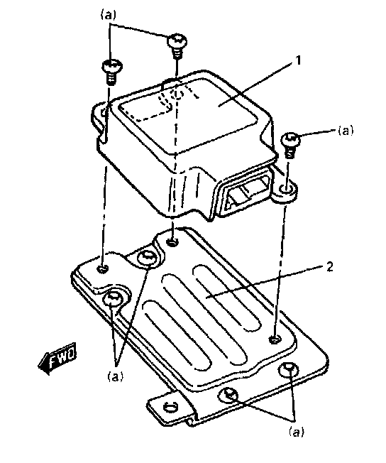
2. Install SDM bracket (2) and SDM (1) to vehicle.

CAUTION: Ensure that arrow on the SDM is pointing toward the front of the vehicle.

3. Tighten SDM and SDM bracket screws to specified torque.

Tightening torque
SDM bracket screw (a): 6 N.m (0.6 kg-m, 4.5 lb-ft)




4. Connect SDM connector (2) to SDM (1) and be sure to lock each connector with lock lever (3).

CAUTION: As this connector has a connector lock lever, refer to the figure for its installation procedure.

5. Install steering support member lower brace (1).




6. Install console box extension (2).
7. Connect negative cable to battery.
8. Enable air bag system referring to "Enabling Air Bag System"