Curiosii for ever!
: Car repair manuals for everyone.
Home
>>
Suzuki
>>
2002
>>
Esteem GL Sedan L4-1.8L
>>
Repair and Diagnosis
>>
Power and Ground Distribution
>>
Relay Box
>>
Application and ID
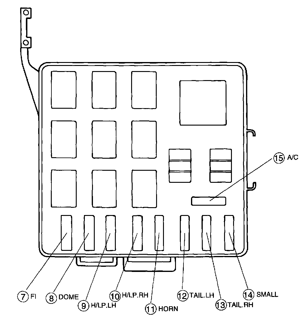
Relay Box: Application and ID
Fuse In The Fuse Box And J/B Part 1:
Fuse In The Fuse Box And J/B Part 2:
Fuse
The chart above shows the circuits protected by each fuse.
Relay Box: