Curiosii for ever!: Car repair manuals for everyone.

Acceleration/Deceleration Sensor: Service and Repair

Removal
1. Turn ignition switch to OFF position.
2. Remove console box (2) extension (right and left).
3. Disconnect connector from G sensor (1).





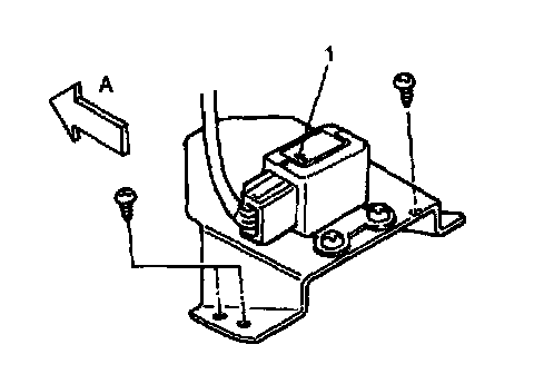
4. Remove sensor with bracket from floor.

CAUTION:
^ Do not separate sensor and bracket. It will lead to erroneous assembly.
^ Sensor must not be dropped or shocked. It will affect its original performance.

Installation
1. Using new screws, install sensor with bracket onto floor so that arrow mark (1) directs vehicle forward (A).





2. Connect connector to sensor securely.
3. Install console box extensions.

Inspection
1. Check sensor bracket for bend.





2. Connect positive cable of 12 V battery to "A" terminal of sensor and ground cable to "C" terminal. Then using voltmeter, check voltage between "B" terminal and "C" terminal. If measured voltage is not as specified, replace sensor with bracket.