Curiosii for ever!: Car repair manuals for everyone.

Fluid - A/T: Service and Repair

A/T Fluid Change
1. Lift up vehicle.
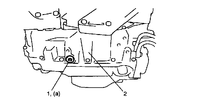
2. When engine is cool, remove drain plug (1) from transaxle housing (2) and drain A/T fluid





3. Install drain plug (1)
Tightening torque
A/T fluid drain plug (a): 40 Nm (4.0 kgf-m, 29.0 ft. lbs.)
4. Lower vehicle and fill proper amount of an equivalent of DEXRON (R) III or DEXRON (R) IIE





5. Check fluid level.
Automatic transaxle fluid
An equivalent of DEXRON (R) III or DEXRON (R) IIE
Automatic transaxle fluid capacity
When draining from drain plug hole: 2.9 liters (6.13/5.10 US/Imp. pt.)
When overhauling: 6.2 liters (13.10/10.91 US/Imp. pt.)