Curiosii for ever!: Car repair manuals for everyone.

Rear Cross-Member: Service and Repair





Suspension Frame Removal and Installation

Removal
1. Hoist vehicle and remove rear wheels.
2. Remove muffler.

WARNING: To avoid danger of being burned, do not touch the exhaust system when the system is hot. Any service on the exhaust system should be performed when the system has cooled down.

3. Remove stabilizer bar.





4. To facilitate toe adjustment after reinstallation, put match marks (4) on washer (3) and on suspension frame (2).
5. Remove control rod No.2 (right and left).
6. Remove control rod No.1 (right and left).





7. Remove suspension frame bolts (2) and suspension frame (1)





8. Remove suspension frame bushings (1) by using a pipe (2) whose outer diameter (3) is 37 mm (1.46 inch) and inner diameter (4) is 27 mm (1.06 inch) or more, an appropriate support (5) and hydraulic press (6).

Installation





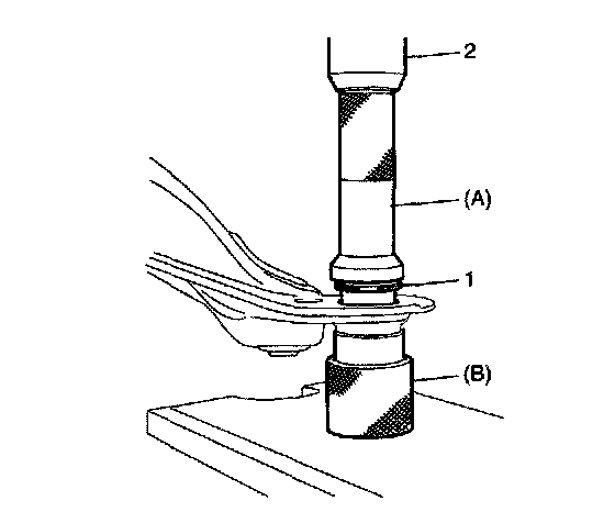
1. Press-fit suspension frame bushings (1) by using special tools (A), (B) and hydraulic press (2).
Special tool
(A): 09951-16080
(B): 09940-53111





2. Install suspension frame pads (1) to bushings (2) as shown.
3. Install suspension frame and tighten suspension frame bolts to specified torque.
Tightening torque
Suspension frame bolts (a): 90 Nm (9.0 kgf-m, 65.0 ft. lbs.)
4. Install control rods and tighten bolt and nuts by hand.
5. Install stabilizer bar.
6. Install muffler.
7. Install wheels and tighten wheel nuts to specified torque.
8. Lower hoist and tighten control rod bolts and nuts to specified torque.
9. Check rear toe and adjust it as necessary.