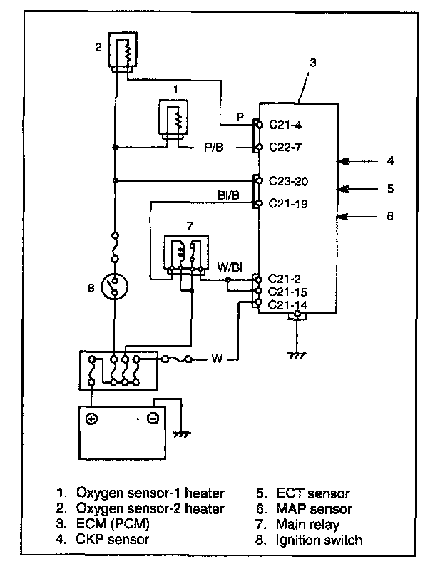
H02S Control System
This system controls operation (ON/OFF) of each heater which assists activation of each oxygen sensor. ECM (PCM) turns the each heater of oxygen sensor-1 and -2 ON (to allow the electric current to flow to the oxygen sensor heater) when the engine is running without high-load condition after specified time from engine start.