Curiosii for ever!: Car repair manuals for everyone.

Right Case

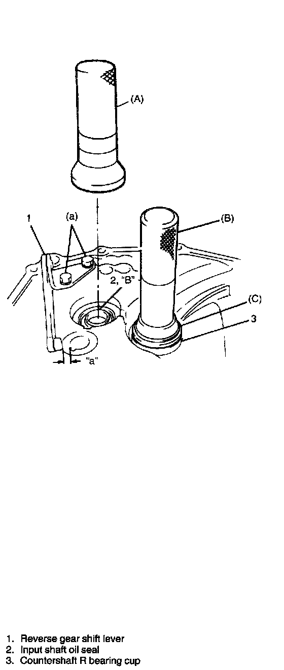
RIGHT CASE





1. If reverse gear shift lever has been removed, fasten it with 2 bolts after applying thread lock cement.
Tightening Torque
(a): 23 Nm (2.3 kg-m, 17.0 ft. lbs.)

NOTE:
^ When installing reverse gear shift lever, set distance "a" between lever end and shaft bore to be 5 mm (0.2 inch).
Distance "a": 5 mm (0.2 inch)
^ Distance "a" can be measured by installing reverse gear shaft provisionally.
^ When "a" is 5 mm (0.2 inch), clearance between reverse idler gear groove and shift lever end will be 1 mm (0.04 inch).

2. Install input shaft oil seal facing its spring side upward.
Use special tool and hammer for installation and apply grease to oil seal lip.
"B": SUZUKI SUPER GREASE A, 99000-25010
Special Tool
(A): 09951-76010
3. Install countershaft R bearing cup by using special tools and hammer.
Special Tool
(B): 09924-74510
(C): 09925-68210





4. Apply grease to gear shift shaft oil seal at its lip and install it up to bottom of the bore by using special tool and hammer.
"B": SUZUKI SUPER GREASE A, 99000-25010
Special Tool
(D): 09925-58210





5. Install gear shift shaft, boot, steel ball, spring and tighten bolt with washer applied with sealant.
"C": SUZUKI BOND NO. 1215, 99000-31110
Tightening Torque
(b): 13 Nm (1.3 kg-m, 9.5 ft. lbs.)

NOTE: Bring breather of gear shift shaft boot downward.

6. Install differential side R oil seal until it becomes flush with case surface by using special tool with hammer, and then apply grease to its lip.

NOTE: Face diff. side oil seal spring side inward.

"B": SUZUKI SUPER GREASE A, 99000-25010
Special Tool
(E): 09913-75520





7. Insert gear shift arm in gear shift shaft, then fasten them with bolt applied with thread lock cement.
"A": Thread lock 1322, 99000-32110
Tightening Torque
(c): 34 Nm (3.4 kg-m, 24.5 ft. lbs.)