Curiosii for ever!: Car repair manuals for everyone.

Without Scan Tool

INSPECTION







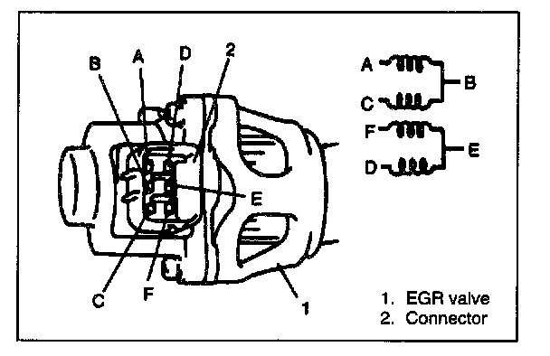
1. Check resistance between the following terminals of EGR valve in each pair.
If found faulty, replace EGR valve assembly.




2. Remove carbon from EGR valve gas passage.

CAUTION: Do not use any sharp-edged tool to remove carbon. Be careful not to damage or bend EGR valve, valve seat and rod.

3. Inspect valve, valve seat and rod for fault, cracks, bend or other damage.
If found faulty, replace EGR valve assembly.