Curiosii for ever!: Car repair manuals for everyone.

Windshield: Service and Repair

Windshield Removal and Installation

Removal
1. Clean both inside and outside of glass and around it.
2. Remove wiper arms, garnish and spacers.
3. Remove roof molding and windshield upper molding.
4. Using tape, cover body surface around glass to prevent any damage.
5. Remove rear view mirror, sunvisor, and front pillar trims (right and left).







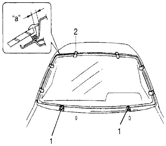
6. Remove front side rib (1) of roof lining (2) from between glass and body.







7. Drill hole with eyeleteer (1) through adhesive and let piano string through it.







8. Cut adhesive (4) all around glass (2) with piano string (1).

NOTE: Use piano string as close to glass as possible so as to prevent damage to body.







9. Using knife (1), smooth adhesive (2) remaining on body (3) side so that it is 1 - 2 mm thick all around.

NOTE: Before using knife, clean it with alcohol or the like to remove oil from it.







10. When re-using glass, remove adhesive (1) from glass, using care not to damage primer coated surface (2).







Installation
1. Using cleaning solvent, clean window frame (body) where glass is to be adhered. (Let it dry for more than 10 minutes.)
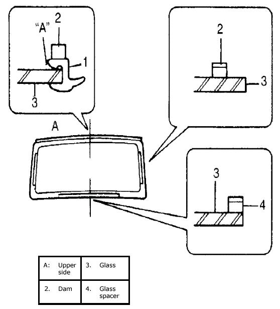
2. Install spacers (2 pcs.) to lower side of window frame (body).
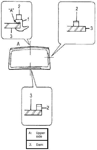
3. Peel paper from one side of new dams (1) (3 pcs.) and attach them to windshield glass at both sides and bottom. Refer to the figure.







4. Install upper molding to glass. Warming molding for over half an hour at 35 °C (95 °F) temperature will facilitate work.
5. To determine installing position of glass to body, position glass against body so that clearance between upper end of glass and body is about 6 mm (0.236 in.) and clearances between each side end (right and left) of glass and body are even. Then mark mating marks (2) on glass and body as shown in the figure. Upper clearance can be adjusted by moving stoppers (1) position.

Clearance
"a": 6 mm (0.236 in.)







6. Using new brush (1), apply sufficient amount of primer (2) for body along body surface where windshield glass is to be adhered.

NOTE: Be sure to refer to maker's instruction for proper handling and drying time.







7. Clean glass (3) surface to be adhered to body with clean cloth.
If cleaning solvent is used, let it dry for more than 10 minutes.

8. Clean molding (1) surface "A" with clean cloth. Refer to the figure.







9. Using new brush, apply sufficient amount of primer for glass along glass surface to be adhered to body.

NOTE:
- Be sure to refer to maker's instruction for proper handling and drying time.
- Do not touch primer coated surface.

Area applied primer coated surface
Width "b": Approx. 25 mm (0.98 in.)
Width "c": Approx. 20 mm (0.79 in.)
Width "d": Approx. 35 mm (1.38 in.)







10. Using new brush, apply sufficient amount of primer for molding (1) (urethane) to surface "A" as shown in the figure.

NOTE:
- Be sure to refer to maker's instruction for proper handling and drying time.
- Do not touch primer coated surface.







11. Apply adhesive (3) referring to the figure.

NOTE:
- Start from bottom side of glass (4).
- Be careful not to damage primer.
- Height of adhesive applied to lower side should be higher than that of other three sides.

Adhesive amount specification (Upper, right and left sides)
Height "e": Approx. 17 mm (0.67 in.)
Width "f": Approx. 11 mm (0.43 in.)
Distance "g": Approx. 2 mm (0.08 in.)
Distance "h": Approx. 3 mm (0.12 in.)

Adhesive amount specification (Lower side)
Height "i": Approx. 24 mm (0.94 in.)
Width "j": Approx. 12 mm (0.47 in.)
Distance "k": Approx. 8 mm (0.31 in.)

- Press glass against body quickly after adhesive is applied.
- Use of rubber sucker grip is helpful to hold and carry glass after adhesive is applied.







12. Peel remaining paper from molding and dam.
13. Holding rubber sucker grips (1), place glass onto body by aligning mating marks marked in Step 5) and press it.
14. Attach roof molding.







15. Check for water leakage by running water from hose over window. If leakage is found, dry window and fill leaky point with adhesive. If water still leaks even after that, remove glass and start installation procedure all over again.

NOTE:
- Do not use high pressure water.
- Do not blow compressed air directly at adhesive applied part when drying.
- Do not use infrared lamp or the like for drying.







CAUTION:
Upon completion of installation, note the following.
- Sudden closing of door before adhesive is completely set may cause glass to become loose or to come off. Therefore, if door is opened or closed before adhesive is completely set, make sure to open all door glasses and use proper care.
- If molding is not securely in place, hold it down with a tape until adhesive is completely set.
- Each adhesive has its own setting time. Be sure to refer to maker's instruction, check setting time of adhesive to be used and observe precautions to be taken before adhesive is set.
- Refrain from driving till adhesive is completely set so as to ensure proper and sufficient adhesion.


16. Stick rear view mirror bracket (1) as shown in the figure.

Distance for rear view mirror installing position
"a": Approx. 13 mm (0.52 in.)
"b": Approx. 7 mm (0.28 in.)

17. Install rear view mirror (2), roof molding, front pillar trims, sunvisor, air ventilator garnish and wipers.