Curiosii for ever!: Car repair manuals for everyone.

Quarter Window Glass: Service and Repair

Rear Quarter Window Removal And Installation

Removal

1. Cut molding all around quarter glass with knife.
2. Using a tape, cover body surface around quarter window glass to prevent any damage.
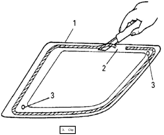
3. Remove quarter window trim.
4. Drill a hole with an eyeleteer (1) through adhesive and let a piano string through it.







5. Cut adhesive (4) all around quarter glass (2) with piano string (1).

NOTE: Use piano string as close to glass as possible so as to prevent damage to body.







6. Using a knife (1), smooth adhesive (2) remaining on body (3) side so that it is 2 - 3 mm thick all around.
7. Where adhesive dam will be attached, remove adhesive until painted surface is exposed and clean.







8. When re-using glass, remove adhesive (1) from glass, using care not to damage primer coated surface (2).







Installation

1. Using cleaning solvent, clean surface of adhesive remaining on body (or windshield edge) where windshield glass is to be adhered. (Let it dry for more than 10 minutes)
2. Clean contact surfaces of old adhesive (4), paint or bare metal thoroughly.
If surfaces of paint or bare metal come out, apply primer (2) for body with caution not to apply primer to surface of adhesive remaining on body.

NOTE:
- Be sure to refer to primer maker's instruction for proper handling and drying time.
- Do not touch body and old adhesive surfaces where glass is to be adhered.







3. Clean new glass surface to be adhered to window with clean cloth. If unleaded gasoline is used, let it dry for more than 10 minutes.
4. Clean molding (3) surface.
5. Using a new brush (1), apply sufficient amount of primer (2) for glass along glass (4) surface to be adhered ("a", "b" and "c" in the figure).

NOTE:
- Be sure to refer to maker's instruction for proper handling and drying time.
- Do not touch primer coated surface.

Adhesive amount specifications (rear quarter window)
Width "a": Approx. 16 mm (0.63 in.)
Width "b": Approx. 16 mm (0.63 in.)
Width "c": Approx. 16 mm (0.63 in.)
Distance "d": Approx. 7 mm (0.28 in.)







6. Apply adhesive (2) as shown.

NOTE:
- Start from bottom side (A) of glass (3).
- Apply adhesive so that shape of the adhesive applied part matches shape of primer coated part of body.
- Be careful not to damage primer.
- Press against body quickly after adhesive is applied. Perform Steps 6) to 9) within 10 min. to ensure sufficient adhesion.

Adhesive amount specifications (rear quarter window)
Height "d": Approx. 16 mm (0.63 in.)
Width "e": Approx. 9 mm (0.35 in.)
Distance "f": Approx. 3.5 mm (0.14 in.)
Distance "g": Approx. 9.5 mm (0.37 in.)

7. Peel remaining paper from molding (1).







8. Attach rubber sucker grip to outside of glass.
Use of a rubber sucker grip is helpful to hold and carry glass after adhesive is applied.







9. Press glass against body so that clip hole in body matches with clip position on glass.







10. Check for water leakage by running water from hose over window. If leakage is found, dry window and fill leaky point with adhesive. If water still leaks even after that, remove glass and start installation procedure all over again.

NOTE:
- Do not use high pressure water.
- Do not blow compressed air directly at adhesive applied part when drying.
- Do not use an infrared lamp or the like for drying.







CAUTION: Upon completion of installation, note the following.
- Sudden closing of door before adhesive is completely set may cause glass to become loose or to come off. Therefore, if door is opened or closed before adhesive is completely set, make sure to open all door glasses and use proper care.
- Each adhesive has its own setting time. Be sure to refer to maker's instruction, check setting time of adhesive to be used and observe precautions to be taken before adhesive is set.
- Refrain from driving till adhesive is completely set so as to ensure proper and sufficient adhesion.