Curiosii for ever!
: Car repair manuals for everyone.
Home
>>
Suzuki
>>
1999
>>
Esteem GLX Sedan Plus L4-1.8L
>>
Repair and Diagnosis
>>
Transmission and Drivetrain
>>
Automatic Transmission/Transaxle
>>
Testing and Inspection
>>
Component Tests and General Diagnostics
>>
Non-Trouble Code Procedures
>>
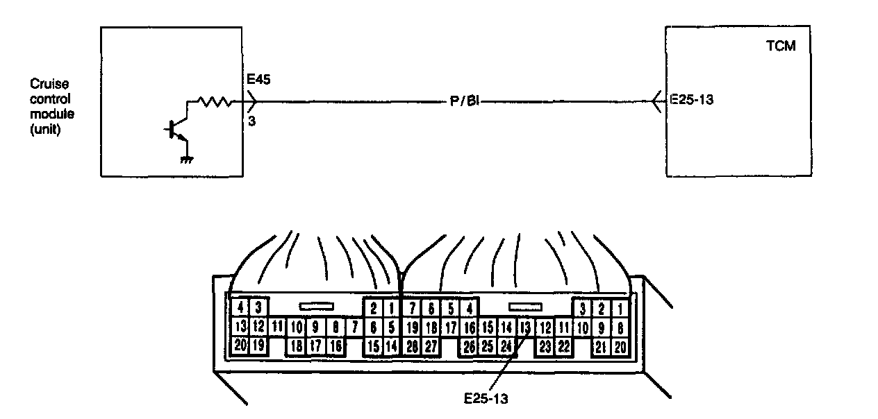
Table B-3 Cruise Control Signal (O/D & TCC Off Signal) Check
Table B-3 Cruise Control Signal (O/D & TCC Off Signal) Check
TABLE B-3 CRUISE CONTROL SIGNAL (O/D AND TCC OFF SIGNAL) CIRCUIT CHECK, IF EQUIPPED
WIRING DIAGRAM
INSPECTION