Curiosii for ever!
: Car repair manuals for everyone.
Home
>>
Suzuki
>>
1999
>>
Esteem GLX Sedan Plus L4-1.8L
>>
Repair and Diagnosis
>>
Transmission and Drivetrain
>>
Automatic Transmission/Transaxle
>>
Testing and Inspection
>>
Component Tests and General Diagnostics
>>
Non-Trouble Code Procedures
>>
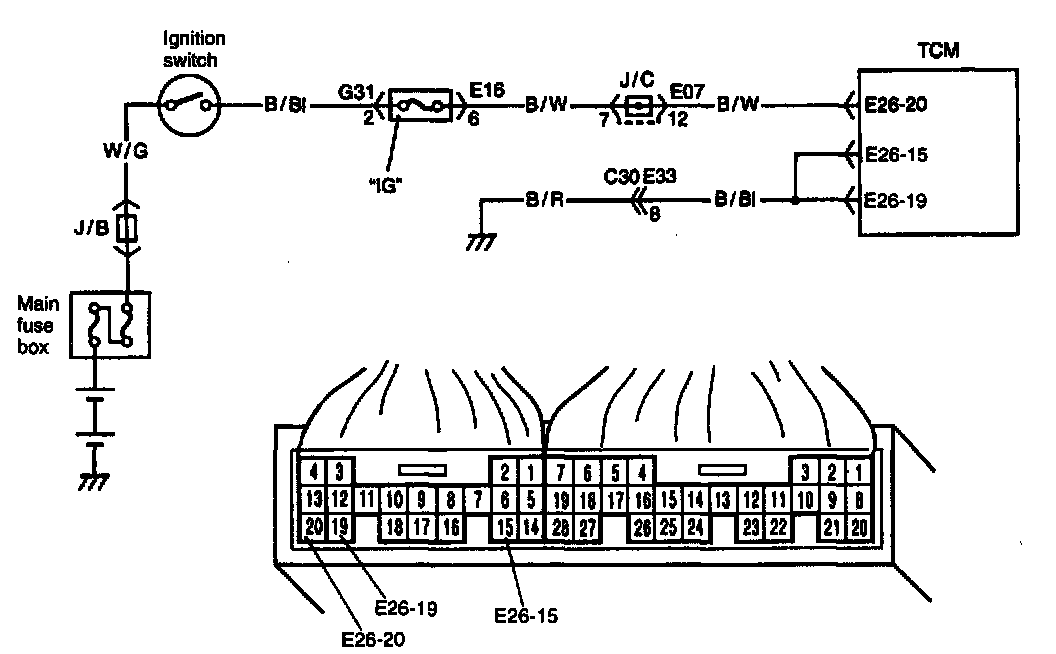
Table A-4: Tcm Power and Ground Circuit Check
Table A-4: Tcm Power and Ground Circuit Check
TABLE A-4
TCM
POWER AND GROUND CIRCUIT CHECK
INSPECTION