Curiosii for ever!
: Car repair manuals for everyone.
Home
>>
Suzuki
>>
1999
>>
Esteem GL Sedan L4-1.6L
>>
Repair and Diagnosis
>>
Transmission and Drivetrain
>>
Automatic Transmission/Transaxle
>>
Testing and Inspection
>>
Component Tests and General Diagnostics
>>
Non-Trouble Code Procedures
>>
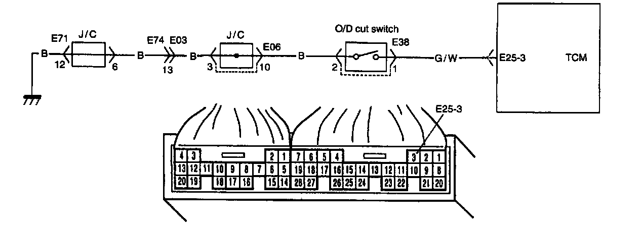
Table B-1 Overdrive (O/D) Cut Switch Circuit Check
Table B-1 Overdrive (O/D) Cut Switch Circuit Check
TABLE B-1 OVER-DRIVE (O/D) CUT SWITCH CIRCUIT CHECK
WIRING DIAGRAM
INSPECTION