Curiosii for ever!: Car repair manuals for everyone.

On-Board Diagnostic System

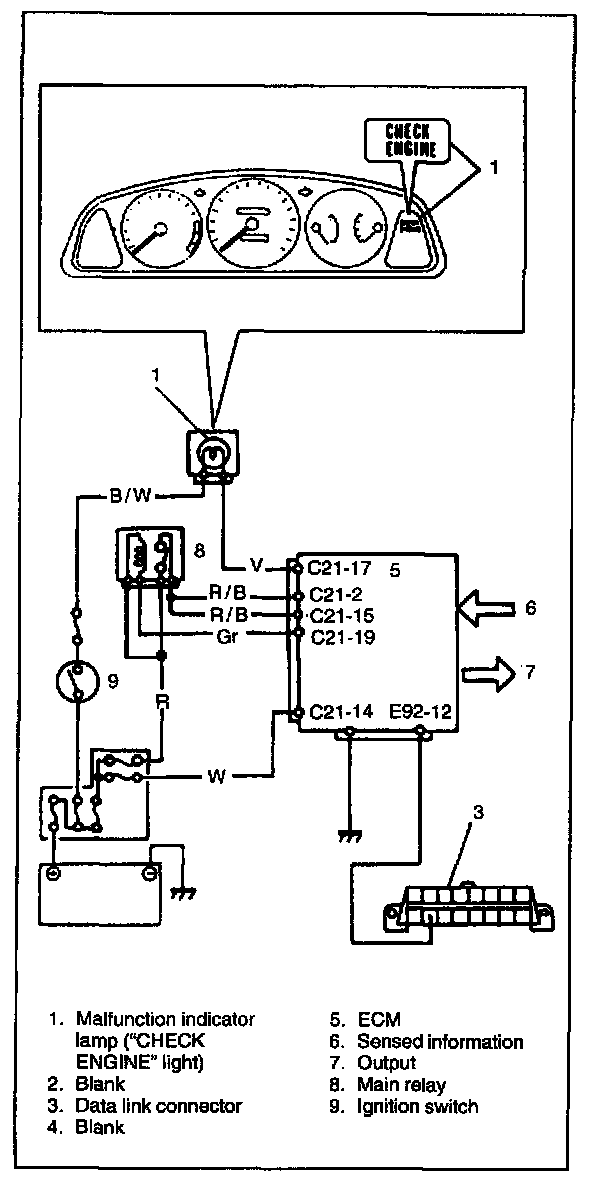
On-board diagnostic system (Self-diagnosis function)




ECM performs on-board diagnosis on the system and parts that influence the vehicle emission in compliance with OBD-II regulation. Refer to Engine General Information and Diagnosis.

ECM and malfunction indicator lamp ("CHECK ENGINE" light) operate as follows.
- Malfunction indicator lamp lights when the ignition switch is turned ON (but the engine at stop) regardless of the condition of Engine & emission control system (Electronic Fuel Injection system). This is only to check the malfunction indicator lamp bulb and its circuit.
- If the system and parts that influence the vehicle emission is free from any malfunction after the engine start (while engine is running), malfunction indicator lamp turns OFF.
- When ECM detects a malfunction, it makes malfunction indicator lamp turn ON or flashing while the engine is running to warn the driver of such occurrence of trouble and at the same time it stores the applicable diagnostic trouble codes in ECM memory.