Curiosii for ever!: Car repair manuals for everyone.

Engine: Service and Repair

ENGINE ASSEMBLY
REMOVAL
1. Release fuel pressure in fuel feed line by referring to Powertrain Management; Fuel Delivery and Air Induction.
2. Disconnect negative cable at battery.
3. Remove engine hood after disconnecting windshield washer hose.





4. Drain cooling system.

WARNING: To help avoid danger of being burned, do not remove drain plug and radiator cap while engine and radiator are still hot. Scalding fluid and steam can be blown out under pressure if plug and cap are taken off too soon.

5. Remove radiator with cooling fan.
6. Remove air cleaner outlet hose as previously outlined.





7. Remove air cleaner case by removing its fastening bolts (3 pcs.).





8. Disconnect following cables.
^ Accelerator cable from throttle body.
^ Clutch cable from transmission (M/T).
^ Gear select cable from transmission (A/T).





9. Disconnect following vacuum hose.
^ Brake booster hose from intake manifold.
^ Canister purge hose from EVAP canister purge valve.
^ Tank pressure control solenoid vacuum hose from tank pressure control valve.
10. Disconnect following electric wires:
^ Ignition coils
^ CMP sensor
^ Ground wires from intake manifold and throttle body
^ Engine oil pressure switch
^ EGR valve
^ Tank pressure control solenoid vacuum valve
^ EVAP canister purge valve
^ Engine coolant temp. sensor
^ Fuel injectors
^ Power steering pressure switch
^ Heated oxygen sensor
^ Back-up light switch (M/T)
^ Shift switch (A/T)
^ Forward clutch revolution sensor (A/T)
^ A/T vehicle speed sensor (A/T)
^ Generator
^ Starter
^ Battery negative cable from transmission
^ Vehicle speed sensor
^ TP sensor
^ IAC valve
^ MAP sensor
^ CKP sensor and release above wire harness from clamps.





11. Disconnect fuel feed hose from feed pipe and return hose from fuel pressure regulator.
12. Disconnect heater inlet and outlet hoses.
13. Remove right and left engine under covers.





14. Remove exhaust No.1 pipe.
15. Remove gearshift control shaft from transmission and remove extension rod (M/T).
16. Drain engine and transmission oil.
17. Remove drive shaft joints from differential gear of transmission.
For engine and transmission removal, it is not necessary to remove drive shafts from steering knuckle.





18. Remove A/C compressor from compressor bracket with hose still attached. (if equipped)

NOTE: Suspend removed compressor at a place where no damage will be caused during removal and installation of engine assembly.

19. Disconnect P/S hose from P/S oil pump. (if equipped)

NOTE: Plug pipe, hose and pump port.

20. Install lifting device.
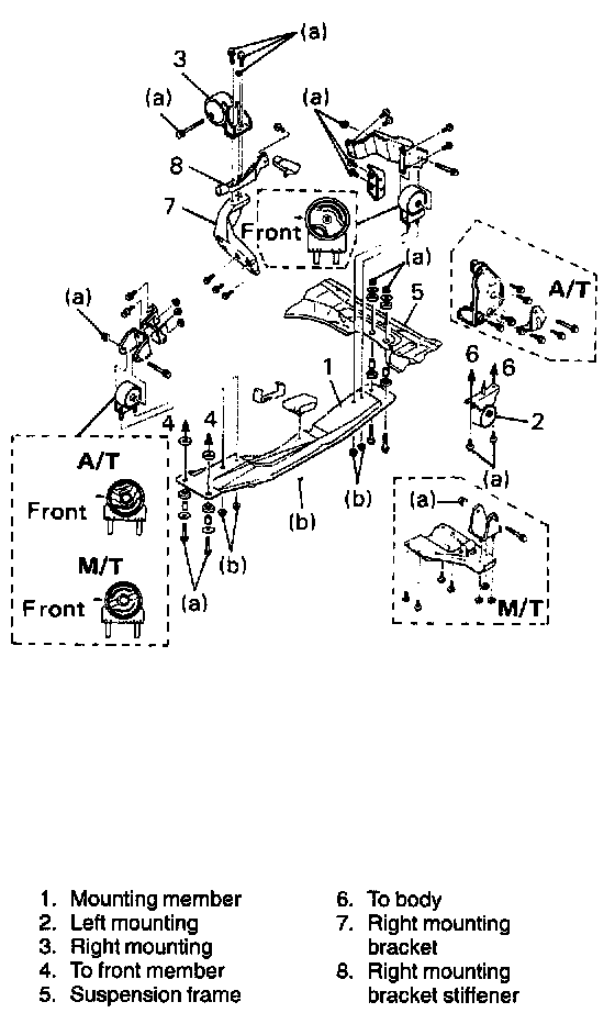
21. Remove mounting member from front member and suspension frame.
22. Remove engine left mounting from body.
23. Remove engine right mounting from right mounting bracket and stiffener.





24. Before removing engine with transmission from body, recheck to make sure all hoses, electric wires and cables are disconnected from engine and transmission.
25. Lower engine with transmission from body.

INSTALLATION





1. Lift engine with transmission into engine compartment, but do not remove lifting device.
2. Install engine right mounting to right mounting bracket and stiffener.
3. Install engine left mounting to body.
4. Install mounting member to front member and suspension frame.
5. Tighten bolts and nuts of all parts installed in above steps 2), 3), and 4) to specified torque.
Tightening Torque
(a): 55 Nm (5.5 kg-m, 40.0 ft. lbs.)
(b): 45 Nm (4.5 kg-m, 32.5 ft. lbs.)
6. Remove lifting device.
7. Reverse removal procedures for installation of remainder.
^ Push in each drive shaft joint fully so that snap ring engages with differential gear or center bearing support.
Use care not to damage oil seal lip when inserting.
^ Clamp electric wire securely.
8. Adjust clutch pedal free travel. (For M/T model)
Adjust gear select cable. (For A/T model)
9. Adjust gearshift control lever. (For M/T model)
10. Refill transmission with gear oil. (A/T fluid for A/T model).
11. Refill engine with engine oil.
12. Refill cooling system.
13. Adjust A/C compressor and/or P/S pump drive belt. (if equipped)
14. Check P/S fluid level. (if equipped)
15. Upon completion of installation, verify that there is no fuel leakage, coolant leakage, transmission oil leakage or exhaust gas leakage at each connection.
16. Adjust accelerator cable play.