Curiosii for ever!: Car repair manuals for everyone.

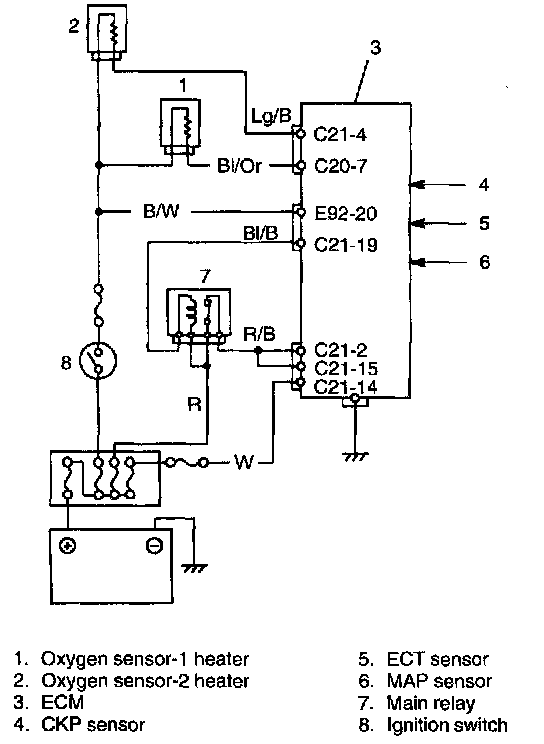
Heated Oxygen Sensor Heater Control System





HEATED OXYGEN SENSOR HEATER (SENSOR-1 AND SENSOR-2) CONTROL SYSTEM
This system controls operation (ON/OFF) of each heater which assists activation of each oxygen sensor. ECM turns the each heater of oxygen sensor-1 and -2 ON (to allow the electric current to flow to the oxygen sensor heater) when the engine is running without high-load condition after specified time from engine start.