Curiosii for ever!: Car repair manuals for everyone.

Engine Temperature Sensor: Testing and Inspection

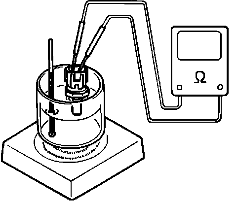
Checking Water Temperature Sensor:




WTS Temperature Vs. Resistance Specification:





Immerse temperature sensing part of WTS in water and measure resistance between sensor terminals while heating water gradually.

If measured resistance doesn't show such characteristic as shown below, replace WTS.