Curiosii for ever!: Car repair manuals for everyone.

Throttle Position Switch: Service and Repair

REMOVAL
1. Disconnect battery negative cable at battery.
2. Remove air cleaner assembly referring to section 6A1.
3. Disconnect coupler from TS.

Removing Throttle Switch:





4. Remove TS screws from throttle body. Using screwdriver, carefully pry TS to slide.

INSTALLATION

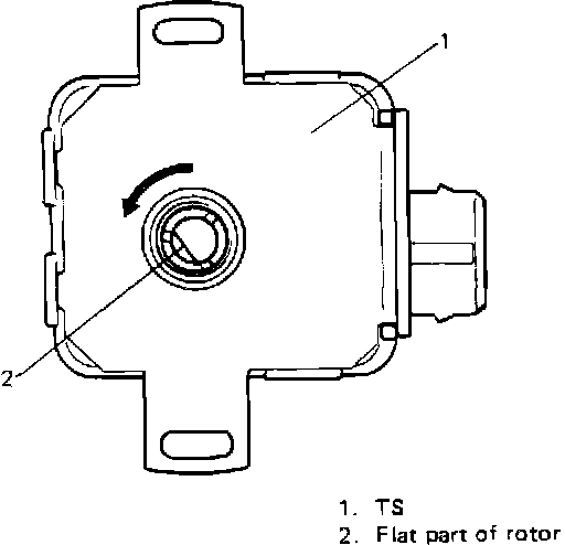
Rotor Position For Installation:





1. Install TS to throttle body. Before installation, check to make sure that flat part of TS rotor is positioned as shown. If not turn rotor with finger counterclockwise till it stops.

Installing Throttle Switch:





2. Install TS to throttle valve shaft by aligning flat part of TS rotor with cut part of shaft and pushing TS till it becomes in full contact with throttle body.
3. Hand-tighten TS screws.

To position throttle valve in the center of bore, open it half and push throttle valve shaft from lever side.

4. Adjust installation angle of TS.
5. Connect coupler to TS securely.
6. Install air cleaner assembly.
7. Connect battery negative cable to battery.