Curiosii for ever!: Car repair manuals for everyone.

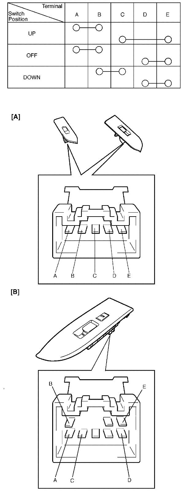
Power Window Sub Switch Inspection




Power Window Sub Switch Inspection

1) Remove front and/or rear door trim from door panel, refer to Step 1) to 3) of Front Door Glass Removal and Installation Front Door Glass Removal and Installation
and/or Rear Door Glass Removal and Installation Rear Door Glass Removal and Installation.
2) Remove power window sub switch from door trim.
3) Check for continuity between terminals at each switch condition.

If check result is not as specified, replace switch.