Curiosii for ever!: Car repair manuals for everyone.

Transmission Range Sensor Inspection and Adjustment




Transmission Range Sensor Inspection and Adjustment

1) Shift manual select lever to "N" range.
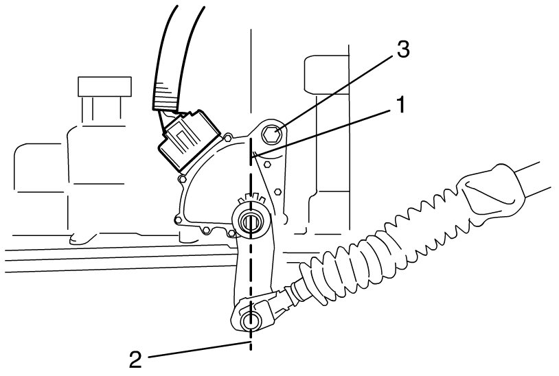
2) Check that center line (2) on manual shift and "N" reference line (1) on sensor are aligned. If not, loosen sensor bolt (3) and align them.






3) Check that engine starts in "N" and "P" ranges but it does not start in "D", "3", "2", "L" or "R" range. Also, check that back-up light lights in "R" range.

If faulty condition cannot be corrected by adjustment, disconnect transmission range sensor connector and check that continuity exists as shown by moving select lever.