Curiosii for ever!: Car repair manuals for everyone.

Oxygen Sensor: Service and Repair




A/F (Air Fuel Ratio) Sensor, HO2S (Heated Oxygen Sensor) Removal and Installation

A/F (Air Fuel Ratio) Sensor On-Vehicle Inspection

HO2S (Heated Oxygen Sensor) On-Vehicle Inspection

Removal

CAUTION:

Touching exhaust system components when they are still hot may cause burns.

Make sure the exhaust system has cooled down before removing the A/F sensor and HO2S.

1) Disconnect negative cable from battery.
2) Disconnect connector of A/F sensor and/or HO2S.
3) Remove exhaust manifold cover.
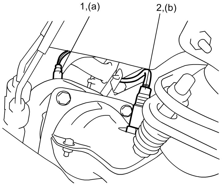
4) Remove A/F sensor (1) and/or HO2S (2).

Installation

Reverse removal procedure noting the following.

- Tighten A/F sensor (1) to specified torque.

Tightening torque
A/F sensor (a): 45 Nm (4.6 kgf-m, 33.5 lbf-ft)

- Tighten HO2S (2) to specified torque.

Tightening torque
HO2S (b): 45 Nm (4.6 kgf-m, 33.5 lbf-ft)





- After installation, check exhaust leakage from sensor with engine running.