Curiosii for ever!: Car repair manuals for everyone.

Sub Fuel Level Sensor Removal and Installation




Sub Fuel Level Sensor Removal and Installation

NOTE:

Failure to take proper precautions when removing or installing the fuel level sensor can result in fuel leaks and/or damage.

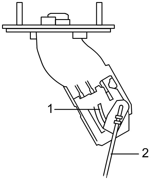
To prevent failure of the fuel level sensor, be careful not to touch the resistor plate (1) or deforming the arm (2) when performing the service operations described below.





Removal

1) Remove fuel tank from vehicle. Fuel Tank Removal and Installation
2) Disconnect sub fuel level sensor connector (1).
3) Remove sub fuel level sensor (2) from fuel tank.






Installation

Fuel Level Sensor Inspection

Reverse removal procedure for installation noting the following.

- Check that mating surface of sub fuel level sensor is clean.
- Replace gasket with new one using care not to damage it.
- Tighten sub fuel level sensor screws to specified torque.

Tightening torque
Sub fuel level sensor screw 1.6 Nm (0.16 kgf-m, 1.5 lbf-ft)